塑料材料的液体在流动的同时经常受到剪切作用和拉伸作用,即剪切流动和拉伸流动组成的复合流动。然而,这都属于无时间依赖性系统。现以两类流动形式说明如下。
1.拖曳流动
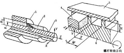
塑料液体的流变行为除受压力因素的影响外,还要受到管道中运动部件的影响。这种影响表现在粘滞性很大的塑料液体材料能随管道中的运动部件移动,这种移动称为拖曳流动。例如,挤出电缆包覆物在环隙形口模中的流动和塑料液体在挤出机螺杆螺槽与料筒壁所成的矩形通道中的流动就是典型的拖曳流动,见图1-13。

图1-13 挤出物电缆包覆物口模和挤出机螺杆中的拖曳流动
1-挤出机头 2-线缆包覆层 3-线缆芯 4-流动液体 5-挤出机料筒 6-挤出机螺杆
由图1-13可知,电线电缆包覆口模中的拖曳流动是一维流动,而塑料熔体在挤出机螺杆螺槽中的拖曳流动则是二维流动。
2.收敛流动
当塑料材料在具有恒定截面形状的管道中流动时,尽管液体中各部分随位置不同而在速度上也有不同,但在流动方向上,流线都是平行的;但当塑料熔体沿流动方向在截面尺寸变小的管道中流动时(粘弹液体在管道中流出时),熔体中各部分流线就不能再保持平行关系。例如,在层流条件下,当高分子液体从一大直径圆管流入一小直径圆管时,多数成型加工设备或模具都采用具有一定锥度的管道来实现过渡。
最常见的锥形管道是圆锥形或楔形,其截面如图1-14所示。

图1-14 圆锥形或楔形管道中的收敛流动
对于塑料熔体在这种状态下的流变行为,目前还没有定量的方程式来描述之。