1.工作原理
进料运输带将茎秆纤维原料经立式横向喂料辊和三组卧式纵向喂料辊压紧,均匀推送进入底刀床与施转的飞刀辊剪切成一定长度的草片,再经出料运输带送入筛选,除尘净化系统。
2.主要结构
由进料、喂料、底刀、飞刀、出料传动等装置组成。

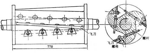
图6-2-1 刀辊切草机
1-进料输送带 2-立式向内喂料辊 3-横置纵向喂料辊组 4-底刀 5-飞刀辊 6-机架 7-除尘罩 8-出料输送带
(1)进料输送带与喂料装置
进料输送带:进料输送带要有适当的长度,以方便投料运料,其速度要略低于喂料辊的线速度,以防止草料在喂料辊堆积。
喂料装置:是由一对立式向内旋转的螺纹喂料辊和三组横置的卧式带齿条的喂料压辊组成。
立式螺旋喂料辊由钢管焊接制成,相向转动,其作用是将输送带上的横放散草转成纵向进入喂料压辊装置。
卧式横置的喂料压辊是由铸铁铸造而成,第一个喂料压辊直径280mm,第二、三个喂料压辊直径为200mm,每个喂料辊面都有8~10条横置轴向的齿条,每个齿条有10余个半圆形尖齿,用以压紧与拨草。
喂料辊应安装在加压弹簧下面,依靠辊子自重和弹簧压力,梳整和压紧草料,使之能均匀,平稳的送进刀辊被切成均匀的草片。为防止喂料辊之间的堵塞,后面喂料辊应较前面喂料辊的线速度高10~15%。
进料运输带与喂料装置可联结组成一体,安装在有轨道车轮的机架上。当更换检修、清理底刀和飞刀时卸下联销螺栓即可推移。

图6-2-2 ZCQ3型刀辊切草机

图6-2-3 ZCQ2型刀辊切草机
(2)飞刀、底刀与刀辊

图6-2-4 飞刀辊

图6-2-5 底刀和刀辊
飞刀:飞刀由中碳钢或低合金钢制成,刀刃角度30~35°,刀口硬度HRC56~60°。
底刀:底刀由中碳钢制成,要求耐磨、耐冲击。刀刃角度85°左右,底刀和飞刀间隙以0.3~0.5mm为宜。
刀辊:刀辊为铸钢或高温铸铁制成,辊上装有三把与辊轴线成4~7°角的飞刀,在刀辊面有飞刀背的位置上装有螺杆以阻止切剪草料时飞刀刀片后退,同时可调节飞刀与底刀的距离。
3.主要技术特征(见表6-2-1)
表6-2-1 刀辊式切草机主要技术特征

4.刀辊切草机的使用及维护
①开车前必须检查各部螺栓是否拧紧,然后调整好飞、底刀刃口之间的间隙距离,一般为0.3~0.5mm,最后才拧紧压刀螺栓,准备开车。
②在使用中要保持飞、底刀的锋利,定时换刀、磨刀。
③喂料速度应均匀,厚薄一致,加料避免乱铺乱放。
④在运行中经常检查传动各部,注意加油,保持润滑良好。
⑤切料时若发生草片规格过长时,其原因一是飞、底刀刃口间隙距离过大,刃口不够锋利;二是进料口喂料不规则;三是喂料速度和飞刀辊转速不一致,一般是喂料速度快,飞刀辊转速慢所造成的。
⑥喂料辊部分容易发生堵塞,草料喂不进去。这是因为投料不均匀,料层过厚或是乱草插到喂料压辊的两侧造成的。堵塞时,要立即停车,反转电动机,喂料装置自行退出堆料,便于消除故障。
⑦刀辊切草机切草时尘埃严重,一般切草机都配备有抽风罩。合理布置抽风口,缩短切草机与除尘器之间的衔接距离和方式,对减少切草间的尘埃有显着效果。