网站首页  词典首页

请输入您要查询的字词:

 

字词 单丝生产所需设备
类别 中英文字词句释义及详细解析
释义

单丝生产所需设备


1.挤出机

由于单丝直径较小,一般为Φ0.15~0.70(1)mm,所以,通常选用直径为45mm或65mm的单螺杆挤出机,有时也使用Φ90mm的单螺杆挤出机,长径比一般为25以上。挤出机料筒端应设置过滤板并放置2~4层过滤网,网孔为40目到80目,

2.机头

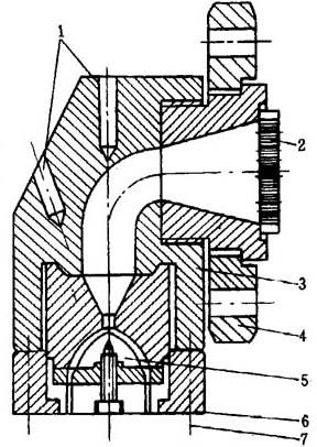
单丝机头一般采用直角式,结构如图11-6所示。

图11-6 直角式单丝机头结构示意图

1-温度计插入孔 2-过滤板 3-模体 4-连接法兰 5-分流器 6-喷丝板 7-锁紧螺丝

机头流道直径应逐渐缩小,产生压力将塑料压实,一般取D/d=(2~4)/1。分流器扩张角一般为30°~80°,分流器处流道的截面积应大于喷丝孔截面积之和。

主流道未设置了一个“瘦颈”,对物料形成了一定的阻力,然后,将物料均匀地输送到喷丝板。设置瘦颈的优点是:喷丝板各处物料压力均匀,流量稳定,减少机头内存料及物料分解的可能,也减少清理机头的废料。

3.喷丝板

喷丝板是机头的主要部件,其结构如图11-7所示。

图11-7 喷丝板结构图

1-模体 2-引入导板 3-孔径包角

喷丝孔的直径主要根据单丝直径与拉伸比决定,拉伸比为6时的LDPE和拉伸比为8时的HDPE的单丝直径与喷丝孔直径的关系见表11-2。

表11-2 单丝直径与喷丝孔直径的关系

对于同一原料,拉伸比固定,孔径增大时单丝的直径也增大。增大喷丝孔直径虽可提高产量,若孔径太大则拉伸比也要随之增大,卷取速度也要相当快,以致无法进行操作。喷丝孔的孔数为12~60孔;对于不需要分丝的单丝,其孔数可增加到100以上。喷丝孔的直径常用为0.8mm、0.9mm、1.0mm(有时孔径能达2.3mm)。喷丝孔需要精密准确地加工,各孔的孔径、各孔的中心距。孔的平直部分的长度均要相等,否则在喷丝过程中易产生断丝或丝的粗细不均。喷丝孔的长径比为(4~10)∶1。不同塑料品种有不同的孔径包角,PE取60°为好,PP取20°为好。

4.冷却水箱

从喷丝孔出来的单丝温度很高,例如,PE可达300℃,为了防止单丝相互粘接,必须迅速冷却定型。冷却水箱中水面应保持一定的高度,喷丝板到冷却水表面的距离为15~50mm为好,由具体树脂确定;距离过大,塑料氧化会降低单丝的强度。水箱的结构见图11-8。

图11-8 冷却水箱结构图

1-挤出机 2-机头 3-蒸汽管 4-冷水管 5-水箱 6-滑轮 7-溢流管 8-排水管

冷却水的温度应在20~50℃内调节。水温过高,会降低单丝的强度;水温过低,单丝内部易产生空洞。

水箱应有一定的容量,一般长1~2m,深0.8~1.0m,应保证单丝在水箱内通过的长度在1m以上。

水箱中三个滑轮固定在同一架子上,可以同时升降便于操作。冷却水箱有蒸汽管(冬天开车时使用)和冷水管,以调节水箱中水温。溢流管位置高低可调,以控制水面高度。排水管可将水箱中热水放出。

5.拉伸设备

拉伸方法有干法和湿法两种。干法就是将经冷却定型后的粗丝在热烘道中被加热,使温度在Tg~Tf(或Tm)之间的某一温度之间,将粗丝拉长拉细。干法的特点是加热温度较高,能够提高拉伸倍数,故现在大多数采用此法,但也有设备较复杂的限制。湿法就是在100℃的沸水中将粗丝加热后进行拉伸,这对于圆形单丝特别适用。

因未拉伸的单丝强度低,不用橡胶辊压住,单丝就会断;拉伸后的单丝因强度大,可不用橡胶辊压住。拉伸设备主要是加热装置和拉伸装置。

(1)加热装置 加热装置的热源有电阻丝加热和红外线加热两种。加热装置一般为加热水箱,水箱中有冷水与蒸汽水管,用蒸汽将水加热至沸腾达98~100℃,用热水加热单丝。热水箱长2~3m,保证单丝在热水箱中有一定的停留时间。若水箱太短,则单丝拉伸不足,达不到拉伸倍数。蒸汽管有无数小孔,蒸汽从小孔溢出,以保持水的沸腾温度恒定。排水管将蒸汽冷凝水排出。

水箱中有两个较大的滑轮,水箱进口与出口处各有一个滑轮将单丝导入与导出水箱,见图11-8中的6。水箱加热成本低,温度恒定,加热均匀,操作方便,广泛用于PE、PVC、PA等单丝。

另一种干法加热是辊筒加热装置,由3~5排加热辊筒组成。辊筒用油或电加热。较粗的单丝绕在辊筒上,通过热辊对单丝加热。干法加热装置比热水箱加热成本高,主要用于热拉伸温度较高的场合,如PP单丝拉伸温度为150~160℃。

(2)拉伸装置 拉伸辊筒有2~3组,每一组包括上、下2~5个直径为150~250mm的空心钢筒。辊筒表面镀铬,其工作部分的长度为200~250mm,上辊为主动辊,下辊为从动辊。为了防止单丝打滑,可用橡胶辊压住上辊,或将单丝在辊筒上绕5~10圈。

为了便于缠绕在辊筒上的单丝均匀排列,不发生缠结现象,上辊中心线应与挤出机中心线垂直;下辊中心线与上辊中心线应有一定的角度排列,一般为6°~12°,否则单丝聚集在一起,分不开,使拉丝操作不能正常进行。

(3)拉伸位数 拉伸辊筒一般用整流电机实现无级调速。第二组拉伸辊筒与第一组拉伸辊筒的线速度之比就是拉伸倍数(也称为拉伸比)。2~3组拉伸辊可分别用三台电机驱动,操作时分别调速,但经常调速,比较麻烦;也可以用一台电机驱动,用链将拉伸装置联接,也可用一根轴联接,固定相互之间的速比,操作方便,只要调节一台电机的速度。拉伸可以进行一次,也可以进行二次,要根据具体情况而定。

6.热处理装置

经过强力拉伸的单丝收缩率较大,单丝的内应力也较大,用热处理的方法可以减少单丝的收缩率和内应力。

单丝未经热处理就收卷,卷取筒中的单丝会因收缩而相互嵌入,无法倒丝,甚至会使卷取筒变形或产生裂缝。即使单丝立即织成网、布等制品,在存放和使用过程中,单丝受热仍会发生回缩,制品不稳定。因此,单丝经拉伸后必须重新加热,让单丝有一定的收缩,使单丝尺寸稳定。

有些单丝经热处理后,还可以提高其耐热性。例如,未经热处理的单丝在50~60℃就开始收缩,而经过热处理后的单丝在70℃时才开始收缩。

热处理必须在张紧的条件下进行,否则,经过拉伸所得到的分子链的取向结构就会被破坏。热处理导辊的线速度比第二拉伸辊的线速度要低2%~5%,让单丝中的大分子发生链段松弛。

对于结晶型的聚合物,热处理温度最好保持在Tmax温度附近,使单丝中的结晶度尽可能地提高,使单丝的强度能大幅度地提高。当然,对于要求不高的单丝也可以不要热处理这道工序。

7.卷取装置

卷取装置主要有卷取筒和卷取轴。卷取筒装在卷取轴上,卷取轴由电机和传动系统带动。为了使单丝均匀而平整地绕在卷取筒上,一般采用凸轮装置。

卷取有两种方式:单丝卷取和若干根丝合成一股卷在卷筒上。单根丝卷在一个小筒上,每筒单丝约重1kg;几十根单丝卷在一个大筒上,然后用分丝机分成单根丝,每绞单丝约重250g。卷取操作的关键是使卷取张力保持恒定,即卷取的线速度保持恒定,一般采用在卷取轴前装一个力矩电机。

随便看

 

文网收录3541549条中英文词条,其功能与新华字典、现代汉语词典、牛津高阶英汉词典等各类中英文词典类似,基本涵盖了全部常用中英文字词句的读音、释义及用法,是语言学习和写作的有利工具。

 

Copyright © 2004-2024 Ctoth.com All Rights Reserved
京ICP备2021023879号 更新时间:2026/5/15 16:31:11