门头是指厅门水平拉门中安装门导轨、门吊等装置的部分。门导轨、联动机构等其他部件一般安装在顶盖罩壳内,同时还装有可防尘的门头盖。
标准的厅门头结构示意如图22.2-1所示。

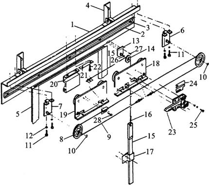
图22.2-1 标准的厅门门头结构
1+2+3-门头 4-支架 5-门套 6~12-门绳组合 6-门绳轮支架 7-门绳轮支架 8-门绳轮 9-门绳 10-C形卡环 11+12-六方螺栓和弹垫 13~17+26+27-重锤关门器 13-重锤绳轮支架 14-绳轮 15+16-端架、门绳、重锤 16-接绳 17-重锤套管 18+19-门吊板 18-门吊板 19-门吊板 20+23-门锁和开关 20-门锁开关 21-垫片 22-六方螺栓、平垫和弹垫 23-钩锁和滚轮 24-垫片 25-六方螺栓和弹垫 26-C形卡环 27-平头螺丝 28-六方螺栓和平垫
(一)厅门导轨
(1)使用刀片将厅门导轨表面的灰尘和堆积物清除干净。
(2)用棉布蘸清洁剂清洁厅门导轨。
(3)如果导轨有锈蚀,使用400#~1000#砂纸除锈处理。处理时需要注意,只打磨厅门导轨面,不要打磨导轨侧面,保护好导轨侧面的防锈涂料。
(4)如果发现导轨凹凸不平,砂纸打磨也不能解决问题,则需要考虑更换导轨。
(5)清洁门头卫生。
(6)使用干净棉布蘸少许润滑油,擦拭导轨来润滑,以导轨表面有薄薄一层润滑油膜为佳。
(二)门吊板
门吊板是指电梯水平滑动门在门板上沿安装的带滚轮的吊架,挂在门导轨上作水平滑动。
门吊板结构示意如图22.2-2所示,维保注意:

图22.2-2 厅门吊板结构
1-门吊轮 2-轮轴 3-C形卡 4-偏心轮 5-轴承 6-轴销 7-锁母 8-吊板 9-吊板 10-吊板
(1)检查厅门吊板螺栓的紧固情况。
(2)清洁厅门吊轮:
①用棉布蘸清洁剂擦拭清洁门吊轮。
②用干净棉布蘸少许润滑油擦拭门吊轮,润滑门吊轮。
③开关厅门,检查厅门运行是否平滑稳定。如果厅门运行不平稳,则说明门吊轮可能磨损,需要更换。
(3)偏心轮检查:
①偏心轮正确调整后可防止门吊从导轨上脱落。
②开关厅门,检查偏心轮是否会跟随厅门运行转动、有无声响;偏心轮应该不跟随厅门运动而转动,偏心轮与门导轨之间间隙应该为0.5mm。
(4)厅门门绳:
①检查绳头锁母是否紧固。
②用干净棉布蘸少许润滑油擦拭门绳润滑门绳。
③检查门绳是否有生锈和破损,如果有则需要更换。
④如果10mm内有5处以上断丝现象,则必须更换门绳。
⑤检查门绳的松紧度。
厅门门绳结构示意如图22.2-3所示。图示尺寸a的值应该小于门绳轮间距的3%。

图22.2-3 厅门门绳松紧度调整示意
注意:任何门绳调整和更换后,需要重新检查门锁及门扇的各项尺寸。
(三)门吊轮的更换
(1)拆下偏心轮。
(2)拆下门吊板的安装螺栓,将门吊板从导轨和厅门上卸下。
(3)取下C形卡簧,将门轮从轴上抽除。
(4)装入新的门吊轮。
(5)按照相反的顺序将门装上。
(6)检查调整门扇的平行度和各项尺寸。
(7)建议更换门吊轮时,四个门吊轮一起更换。