网站首页  词典首页

请输入您要查询的字词:

 

字词 啤酒加工装备
类别 中英文字词句释义及详细解析
释义

啤酒加工装备


1 概述

啤酒是以麦芽为主要原料的酿造酒,营养丰富,含酒精低,易为人体吸收。啤酒是世界上产量最大的酒种,已有几千年的历史。啤酒工业的发展促进了啤酒加工机械的进步,目前我国可以制造年产10万t规模的啤酒整套设备。

2 加工工艺(图1-16-1)

图1-16-1 啤酒酿制工艺流程图

2.1 原料粗选、分级、浸麦、发芽和干燥

大麦先经粗选,目的是除杂,采用振动筛、旋风除尘器、除铁磁力分离机、杂谷分离机等。

经粗选后的大麦通常按籽粒大小分级,小粒麦粒可作饲料。

分级后的麦粒进行浸麦,常见有浸水断水交替法、快速浸麦法和喷浸法。采用喷雾浸麦能缩短浸麦时间,提高发芽能力,麦汁色泽较浅,溶解情况好,糖化发酵正常。

经过浸渍的大麦,在适当温度(13℃~18℃)和充足的空气下开始发芽,发芽设备有地板式、通风式(箱式、罐式)、塔式和连续式等。我国采用地板式和开放箱式发芽设备较多。地板发芽水分和温度控制及排CO2都是人工或半机械化,通过翻麦、喷水、开闭排风窗等方法进行调节。通风式发芽是在开口或密闭的发芽箱内进行。

发芽结束时,绿麦芽水分为40%~44%,不能贮存,还要通过干燥降低水分至2%~5%,终止酶的作用,停止麦芽的生长和胚乳的继续溶解,使之变成干而脆的能长久贮存的干麦芽。

2.2 麦芽粉碎、糖化和过滤

制成麦芽后经40~60天贮存便可进入麦芽汁制备工序,俗称糖化。麦芽在进行糖化前为增加淀粉颗粒、酶以及水之间的接触面要进行粉碎。粉碎的麦芽,可溶性物质容易浸出,也有利于酶的作用,使麦芽的不溶性物质进一步溶解。将粉碎后的麦芽与水(45℃)混合,借助麦芽自身的多种水解酶,将淀粉和蛋白质等高分子物质进一步分解成可溶性低分子糖类、糊精、氨基酸、胨、肽等,制成麦芽汁,完成糖化过程。常用糖化方法有煮出法和浸出法,在我国多采用煮出法。糖化设备主要有糖化锅、糊化锅、过滤槽、压滤机、麦汁煮沸锅等。

糖化后必须立即过滤,除去麦糟,以免影响色、香、味。过滤方法有过滤槽法、压滤机法、快速渗出槽法。

2.3 麦汁煮沸、分离和冷却

为去掉麦汁多余水分,采用煮沸蒸发方法进行浓缩,在煮沸时分3~4次根据啤酒的类型、酒花本身的质量和消费者的爱好不同添加酒花。目前我国生产的淡色啤酒,酒花添加量为0.18%~0.2%,煮沸时间一般为1~2h,蒸气压力150~300kPa。

经分离酒花糟的麦汁从95~98℃急速冷却至适合发酵的温度6~8℃。麦汁冷却过程中会出现冷凝物,应从麦汁中分离掉,使发酵能正常进行。冷却采用沉淀槽喷淋冷却器、板式换热器等。麦汁的澄清除在沉淀槽中自然沉降,一般采用板框压滤机和离心机及旋涡分离槽进行分离。

2.4 发酵、杀菌

麦芽汁经啤酒酵母发酵作用后,便酿制成啤酒。啤酒酵母品种繁多,我国许多大型啤酒厂都有自己独特的酵母,酿制成的啤酒风味各不相同。

发酵分二个阶段进行,第一阶段为主发酵(又称前发酵),这是啤酒发酵主要阶段。传统的啤酒发酵方法,可分上面发酵和下面发酵两种类型。前者采用上面酵母和较高的发酵温度;后者采用下面酵母和较低的发酵温度。我国多是采用下面发酵法。麦汁经主发酵后,口感不好,不澄清,还要经数星期的贮藏,完成残糖的最后发酵,沉淀蛋白质,澄清酒液,消除双乙酰、醛类以及H2S等嫩酒味,促进成熟,这阶段称为后发酵。主发酵采用发酵室、发酵池等设备。后发酵采用长方型槽和圆柱底罐。

发酵后的啤酒经过滤除去残余酵母和蛋白质沉淀物,常用滤棉法、硅藻土法、离心法、板式过滤法和膜分离法。为提高啤酒的品质,采用先粗滤、后精滤的办法。过滤后的啤酒可直接进桶装和瓶装,作为鲜(生)啤酒出售,其保存期为7天。经杀菌后的啤酒称为熟啤酒,也就是日常市场销售的瓶装啤酒。杀菌设备目前较为常用的是喷淋杀菌机。

3 关键设备

3.1 大麦粗选机

大麦粗选机是带有风力除尘的振动筛,其主要部件及其工作原理参见第1篇第2章第1节。

3.2 碟片式精选机

粗选后的大麦还要进行精选和分级。精选主要目的是除去一切圆形杂粒,特别是断裂的半粒大麦和草籽。一般选用碟片式精选机,其工作原理参见第1篇第2章第1节。

3.3 圆筒分级筛

圆筒分级筛用于大麦精选后的分级,根据大麦分级要求,在圆筒筛上布置不同孔径的筛面,一般安排矩形孔25mm×2.5mm和25mm×2.2mm两种筛面。精选大麦从小孔端进入,由大孔端排出,可以将大麦分成三级。

3.4 浸麦槽

为提高麦粒含水量(由13%左右提高到43%~48%),以利于发芽,清除大麦中的杂质,浸出麦皮内的部分有害成分,采用浸麦槽设备(图1-16-2)。

图1-16-2 浸麦槽

1-输麦管 2-大麦喷管 3-通风管 4-假底 5-排料管

浸麦槽为一上部圆筒形、下部圆锥形、槽底锥角为90°的钢制容器。内设中心输麦管、水平分布管、环形空气分布管及排水筛网。输麦管垂直装设于槽中心,管下部通过压缩空气的喷嘴,压缩空气通过喷嘴喷出,在管内形成麦粒、水和空气流的混合物。由于混合物密度较小,借助压缩空气的功能,由管中迅速上浮,被水力推动的四通头旋转装置将麦粒均匀分配于槽的周边,使麦粒上下翻转,避免下部麦粒窒息。在锥底部分布着若干圈通风环管,管侧有小孔,通入压缩空气。锥底侧面装有沥水用的筛网假底,以便排水时阻止麦粒的排出。锥底中心设有放料阀,浸渍后麦粒由放料阀处放出。

近年来,为了提高制麦质量和缩短发芽时间,在原有浸麦洗麦压风机基础上增加了吸风机和喷淋设备。

3.5 箱式发芽设备

发芽设备可分成两大类:地板式发芽和通风式发芽。

地板式发芽占地面积多,劳动强度大。目前除有的小厂仍采用这种传统的方法外,多数采用通风式发芽设备,常用的是箱式发芽,发芽干燥两用箱、三用箱,连续发芽设备等。通风式发芽具有占地面积少,不受季节影响,麦芽质量均匀,发芽周期可缩短1~2天,便于机械化、自动化。

图1-16-3所示为最通用的箱式发芽箱,又称萨拉丁发芽箱。

图1-16-3 萨拉丁发芽箱示意图

1-出气孔 2-回转式行车 3-螺旋翻麦机 4-空气调节室 5-新空气入孔 6-风扇 7-水回收口 8-喷水管 9-多孔底 10-风道 11-麦层 12-人行道

发芽设备由发芽箱、通风空调装置和搅拌装置三部分组成。发芽箱壁采用砖或水泥材料,根据发芽周期确定箱的多小,一般为6~8个(每天投料)。箱内设有假底,上铺篦子,篦板由金属板制成。为通风和排水,在板上开有(1.5~2.5)mm×20mm的长条小孔,其筛孔面积大于20%以上。箱壁两侧设有导轨及齿条,安置一套立式螺旋搅拌机用来翻麦。单箱生产能力一般为5~20t,有的达50t,国外已达300t。

3.6 麦芽干燥设备

麦芽干燥过程可分为三个阶段:前段麦芽水分从41%~45%降至18%;第二阶段麦芽水分从18%降至6%;第三阶段麦芽水分从6%降至2%~5%。

麦芽干燥设备属空气干燥器,以热空气作为干燥介质,经预热器加热后,进入干燥室(炉)中与麦芽进行湿和热的交换。麦芽干燥设备的型式有水平式干燥炉、垂直式干燥塔及发芽-干燥两用箱。

水平式烘床麦芽干燥炉在国内外广泛采用,目前国内采用的有单层、两层和三层干燥炉,有矩形也有圆形的。水平式烘床麦芽干燥炉主要有加热装置(炉)、烘床和通风装置。热源可采用燃烧炉通过烟道及空气加热管加热,也可采用锅炉通过蒸汽管道、翅片式空气加热器加热。烘床为一干燥室,在空气混合室的上方,烘床筛板由金属网构成或钢板冲孔制成,烘床上设有翻麦装置定时翻麦,使麦层上下温度均一,干燥速度一致。通风装置为强制通风,在干燥炉顶部设有排风扇及离心式风机,用以排除干燥蒸发的水分。

干燥炉由于热潜力有限,两层和三层水平干燥塔因生产能力低,且造价较高,近年来已为单层高效干燥炉代替如图1-16-4所示为单层水平式流化干燥炉。这种干燥炉干燥麦芽是从下往上逐渐干燥,麦层可在较厚的流化层干燥,因而不需要翻麦装置也能获得干燥的麦芽。此种干燥机已完全实现机械化,塔内温度自动调节,干麦芽由自动倾斜的烘床卸入麦芽斗,为防止污染麦芽现多采用间接加热。

图1-16-4 单层水平式流化干燥炉

1-通风机 2-炉 3-新鲜空气入口 4-循环的热空气 5-风门 6-湿空气排出风门 7-麦芽分配器 8-螺旋输送器 9-自动卸载烘床 10-斗式提升机 11-料斗 12-热空气

3.7 麦芽除根机

麦根中含有杂质及不良苦味,为提高啤酒质量必须去掉麦根。另外,由于麦根有很强的吸湿性,只有除根后才易于保存。麦芽干燥后麦根变脆,较易除去,在除根的同时对热麦芽起冷却作用,便于入仓保存。

图1-16-5所示为麦芽除根机的卧式圆筒筛。麦芽先经打散装置进行松散,防止麦根缠结,打散的麦芽由螺旋推送器送至缓慢转动的筛筒,筛筒内装有除根刀片,刀片随主轴一起与筛筒同方向快速转动,刀片呈螺旋带状布置,将麦芽由入料端推向出料口,因刀片的转速比筛筒快,刀片与筛筒的相对运动,摩擦麦芽将麦根脱落,通过筛筒分出。机身上部有抽风装置1,吸入空气将麦芽吹冷,并将灰尘和轻杂质吸去。

图1-16-5 麦芽除根机

1-抽风装置 2-除根装置 3-打散装置

3.8 辊式粉碎机

麦芽粉碎多采用干粉碎,用辊式粉碎机进行,有两辊(一对)式、四辊(二对)式、五辊式、六辊(三对)式。这种粉碎机结构简单、维修容易、调节方便。也有采用湿粉碎及回潮粉碎方法,此方法对改善过滤有明显优点。

图1-16-6所示为六辊式粉碎机。该机由三对辊筒组成,前二对用光辊,在辊子后面均设有筛选装置,采用光辊是使皮壳不致粉碎得太细而影响麦汁的过滤操作。第三对辊筒采用丝辊,将筛出的粗粒,磨成细粉、细粒,以利于糖化时充分浸出有用物质。通过筛选装置可以分离出细粉、细粒和皮壳。三对辊子间的距离可以用辊隙调整装置进行调整,使其间隙分别为1.3~1.5mm、0.7~0.9mm和0.3~0.5mm。

图1-16-6 六辊式粉碎机示意图

1-偏心振子 2-辊子 3-筛选装置

为了缩小体积和简化结构,也常使用五辊式粉碎机,前三个光辊组合成两组磨碎单元,后两个丝辊单联成一组磨碎单元。

3.9 糊化锅

糊化锅是用来加热煮沸辅料(如大米、玉米粉等)和部分麦芽醪液,使淀粉液化和糊化。如图1-16-7所示,锅身为圆柱形,锅底为球形蒸汽夹套,顶盖为碟形的容器。辅料、麦芽粉和热水由锅上部的进口5和6进入,旋桨式搅拌器7进行搅拌,使粘稠醪液的浓度和温度均匀,并使醪液中较重颗粒悬浮而不沉降到锅壁形成锅巴。为了均匀分布加热蒸汽,设有以4个短管与蒸汽夹套相通的环形蒸汽管,蒸汽冷凝水从几个短管9排出。不凝性气体从蒸汽夹套上的不凝性气体出口用旋塞间歇地放出。糊化锅圆筒部和蒸汽夹套外部均有保温层。锅身和锅顶一般采用不锈钢板制造,加热夹套内底为了传热良好,采用紫铜板。

图1-16-7 糊化锅

1-不凝性气体出口 2-麦芽粉液或糖化醪入口 3-污水排出管 4-风门 5-大米粉进口 6-热水进口 7-搅拌器 8-加热蒸汽管进口 9-蒸汽冷凝水出口 10-糊化醪出口

3.10 糖化锅(图1-16-8)

图1-16-8 糖化锅

1-搅拌轴 2-搅拌器 3-醪液入管 4-排气口 5-投料管 6-预糖化器 7-混合器 8-排料孔 9-醪液出口阀 10-排料管

糖化锅用作麦芽粉与水混合,并在一定温度中使蛋白质分解和淀粉糖化。为了保持糖化醪在一定温度下浸渍和糖化,一般在锅底周围设置1~2圈通蒸汽的蛇形管或蒸汽夹套。为了保持醪液浓度和温度均匀,避免固形物下沉,锅内装有螺旋桨搅拌器。一般糖化锅的容积比糊化锅大1倍。锅底有平的或球形夹套的。

3.11 平板筛板啤酒麦汁过滤槽

啤酒生产中液-固两相分离是一个重要过程,如糖化醪经过滤得到麦芽汁;煮沸后的麦芽汁在冷却过程中分离各种凝固物;以及啤酒须经过滤除去悬浮于啤酒中残余的酵母和冷凝固物。

图1-16-9所示过滤槽是糖化醪过滤槽,也称平板筛板过滤槽,它是一种常压过滤设备。过滤槽为一圆柱形平底容器,在其平底上方有一层与平底平行的过滤筛板,过滤筛板上分布条形筛孔,整个的圆形筛板是由若干块筛板排列组成的。

图1-16-9 过滤槽

1-油压缸 2-变速箱 3-麦芽汁排出管 4-麦芽汁排出阀 5-喷水管 6-进水管 7-耕糟机 8-回流泵 9-排糟孔

麦芽汁通过筛板上的麦糟层就进入筛板与平底间的容积内。平底上有均布的麦芽汁排出管。平底和筛板上有数对上下对应的排糟孔,用管道将上下每对排糟孔相联结、贯通,其进口在过滤板上,过滤时是密闭着的,只有当排糟时才打开。麦糟层的厚薄影响过滤速度和质量,一般为0.3~0.4m。过滤槽中的耕糟机(或称搅拌机),用以疏松麦糟和排出麦糟。

平板筛板过滤槽过滤推动力较小,当麦芽质量较好,麦芽汁过滤能力为207~360L/m2·h。该设备占地较大,过滤能力低,但因不需要任向外加过滤介质,运转费用低,故在啤酒厂也广泛应用。

3.12 麦汁煮沸锅

麦汁煮沸锅或称浓缩锅,用于麦汁的煮沸和浓缩,使麦汁达到要求的浓度。并加入酒花,浸出酒花中的苦味及芳香物质,同时还具有加热凝固蛋白质、灭菌、灭酶的作用。

麦汁煮沸锅按加热装置的不同可分为夹套式煮沸锅、有内加热器的煮沸锅、有外加热器的煮沸锅等。

夹套式圆形煮沸锅其结构和糊化锅相同,只因麦汁煮沸锅需要容纳包括滤清汁在内的全部麦汁,故容积较大。传统的该类煮沸锅,最大容量不超过30m3,锅底的加热面积不超过20m2。为了增加单位容量麦汁的加热面积,具有内、外加热装置的煮沸锅逐渐推广使用。

图1-16-10所示为有列管式内加热器的煮沸锅。麦汁在中心加热器受热后,形成强烈的自然循环,因而蒸发效率较高。由于强制快速对流,有利于防垢和清洗。

图1-16-10 列管式内加热器煮沸锅示意图

外加热器的麦汁煮沸锅,外加热器是一系列管式热交换器组合,加热蒸汽由上方进入加热室,麦汁由加热室下部进入列管,在加热管内加热煮沸后,由上部送出,蒸汽冷凝水由加热室下部排出,由上部送出的麦汁以线速度约11~14m/s切线方向进入麦汁煮沸锅。外加热煮沸系统优点在于麦汁温度可达106~108℃,可缩短煮沸时间为60~70min。由于密闭煮沸,可使麦汁色度减低,提高酒花利用率,蛋白凝固物分离较好,发酵较好,改善啤酒过滤性能,减少清洗次数,大型啤酒厂的煮沸锅的容量已达60~100m3

3.13 板式换热器

板式换热器是一种间壁式换热器,也是高效换热器,已广泛用于啤酒厂麦汁和啤酒的冷却、杀菌环节。板式换热器结构参见第1篇第17章第2节板式热交换器。

3.14 酵母培养罐(图1-16-11)

图1-16-11 酵母培养罐

1-顶盖 2-视镜 3-罐身 4-夹套外壳

酵母培养罐用来培养和保存酵母的设备。主体是一立式圆柱形容器,与酵母液接触部分均用不锈钢或铜板挂锡制作。顶部为椭球形或锥形,顶盖上装有视镜、麦汁及蒸汽进口、压缩空气进口及排气孔,下端是椭球形封头与罐身焊接。罐下部有夹套,通入冰水或冷却水,使罐内保持低温,利于酵母培养。

3.15 麦汁杀菌罐

麦汁杀菌罐是用蒸汽间接加热麦汁,使麦汁煮沸灭菌,然后冷却麦汁,供酵母培养用。如图1-16-12所示。麦汁和压缩空气从罐身上部进入,杀菌后的麦汁从罐底排出。罐内有蛇管装置,通入蒸汽或冷却水,用于麦汁的杀菌或冷却。

图1-16-12 麦汁杀菌罐

1-压力表 2-顶盖 3-视镜 4-罐身 5-冷却管

3.16 大容量发酵罐

大容量发酵罐具备自身冷却条件,可以在露天设置。大容量发酵罐应与糖化能力相匹配,以12~15h罐满为宜。发酵罐的容积目前多采用100~500t。常见的大容量发酵罐有圆筒体锥底罐、塔式发酵罐、联合罐等。锥形底发酵罐、联合罐一般用于间歇发酵,塔式发酵罐用于连续发酵。

3.16.1 圆筒体锥底发酵罐 圆筒体锥底发酵罐简称锥底罐,它是当前国内外广泛使用的设备,可单独用于前发酵或后发酵,还可以将前、后发酵合并在一罐内进行,它既可用于下面发酵啤酒,也可用于上面发酵啤酒。

这种设备优点在于具备加压、升温操作功能,本身有冷却夹套和自动清洗设备,杂菌污染机会少,由于是加压密闭发酵,可减少酒花用量,且结构不很复杂,投资费用不高,易于实现自动控制。

图1-16-13所示为52m3锥底罐,已灭菌的新鲜麦汁与酵母由底部进入罐内,发酵最旺盛时,使用冷却夹套,维持适宜的发酵温度,冷媒可采用20%~30%酒精或30%乙二醇水溶液,也可采用液氨,最终沉积在锥底的酵母,可打开锥底阀门排出,部分酵母留作下次使用。罐体上部中央设不锈钢可旋转洗涤喷射器,使喷出的水有力地射到罐壁结垢最严重的地方。大罐罐体的工作压力根据大罐的工作性质而定,如作发酵罐兼作贮酒罐,工作压力可定为150~200kPa(表压)。

图1-16-13 圆柱锥底罐

1-视镜 2-CO2排出管 3-自动洗涤器 4-人孔 5-封头 6-罐身 7-冷却夹套 8-保温层 9-冷媒排出口 10-冷媒进入口 11-中间酒液排出管 12-取样管 13-温度计 14-支脚 15-基柱 16-锥底 17-锥底冷却夹套 18-底部酒液排出管 19-麦汁进口、酒液进口、酵母排出口

3.16.2 塔式连续发酵罐 塔式连续发酵罐又称为APV塔式连续发酵设备,如图1-16-14所示。它由圆锥底、圆筒体和塔帽三部分组成,锥底角成60°,便于沉降和积聚啤酒酵母,锥底部有麦汁入口和排出酵母泥的接管。为了避免新鲜麦汁进入罐内时沿中心流速过高而对罐内液层有较大影响,在锥体部位装有缓冲舌,使麦汁以稳定流速,由塔底向上作缓慢流动。在筒体内均匀装有几块水平的多孔板,板上开有Φ2mm的小孔。档板的作用是促使麦汁和酵母充分混合,使麦汁均匀地分布到塔内各截面,麦汁在塔内一边上升,一边发酵,直到满塔为止。发酵温度是通过塔身周围三段夹套或盘管的冷却来控制的。

图1-16-14 塔式主发酵罐

3.17 硅藻土过滤机

硅藻土过滤机是当前广泛采用的过滤机,一般应按所要滤除粒子的大小,选择不同粒度分布的硅藻土作预涂层。硅藻土是一种对啤酒风味影响较小的助滤剂,具有较大的表面积(约10000~20000m2/kg),能滤除啤酒中的固体颗粒,也能吸附细菌和胶体微粒。硅藻土的用量,每平方米过滤面约需600g左右。澄清啤酒能力约300~400L/(m2·h)。

早期的硅藻土过滤机是板框式,结构与板框式压滤机相类似。它使用特别的多孔隙滤低板夹持在板和框之间,作为硅藻土层的支持介质,每一过滤周期结束后须更换新的支持介质。后来推出的叶片式硅藻土过滤机基本上克服了上述缺点。

3.17.1 立式叶片硅藻土过滤机 该类过滤机叶片可以装在卧式罐或立式罐中,对于较小流量者(<25m3/h)一般设置在立式罐中,对于50m3/h以上流量者,可采用卧式罐(图1-16-15)。该机底部有一条水平的滤液汇集总管6,在总管上面有与它垂直排列的许多扁平过滤叶片3,每个滤叶的下部有一根滤液流出管,将其内腔与汇集总管接通。滤叶是正反两面紧覆着细金属丝网的滤框,框的中间平面上夹持着一层粗的大孔格的金属丝网,在它的两侧紧复以细密的金属丝网(400~500目),以支持硅藻土层。

图1-16-15 立式叶片硅藻土过滤机

1-机头和叶片能向前移动的拖行滑架 2-摆动喷水管 3-过滤叶片 4-滤渣出口 5-啤酒进口 6-汇集总管 7-清酒出口

从混合槽将啤酒与硅藻土混合液泵入过滤器,以制备硅藻土预涂层。混合液中的硅藻土粒子被截留在滤叶表面的细金属丝网上,而啤酒则进入滤框内腔进水平汇集总管流出。浊液返流到混合槽,直至流出澄清啤酒,至此预涂层制备完成。然后将待过滤的啤酒过滤,过滤结束后,压出器内啤酒,然后由摆动喷水管2喷水冲洗滤饼。

3.17.2 水平叶片式硅藻土过滤机 图1-16-16所示为水平叶片式硅藻土过滤机。它在垂直空心轴上安装有许多水平排列的叶片(又称滤叶)2,数量随过滤面积而异。叶片的内腔与空心轴1相通,叶片上面是一层细金属丝网,约250目左右,作为硅藻土层的支持介质。它的下方是一层粗的大孔格的金属丝网,约6~8目,用来支持细金属丝网。叶片的底面是厚5mm的不开孔的不锈板。滤液从叶片内腔流入空心轴1,然后从底部排出。过滤程序与垂直叶片式过滤机相同。过滤结束后,从空心轴反向泵入清水,使滤饼疏松,然后开动空心传动机构使轴旋转,靠惯性离心力使滤饼从滤渣出口3卸掉排出。

图1-16-16 水平叶片硅藻土过滤机

1-空心轴 2-水平叶片 3-滤渣出口 4-清酒出口(清水入口) 5-进料口

3.18 板框压滤机

传统的板框式过滤机由于具有结构简单,价格较低,过滤面积大,过滤推动力较大,对一些难于过滤的物料过滤质量较好的优点,不少厂家还在使用。但有装拆劳动强度大,清洗滤布麻烦,须设洗滤布机,耗用的人力和水量均多,机体笨重,占地面积大,自动化程度低等缺点,已逐渐被全自动的板框压滤机替代。

图1-16-17所示为自动板框压滤机。它可以实现自动压紧板框、自动拉开板框、自动卸料、自动洗涤滤布。它由滤板、滤框、固定压板、活动压板、压紧机构、滤布驱动机构和滤布洗涤箱等组成。在滤板和滤框的两边侧上下各有只角耳,构成液体及气体通路的孔全部开在角耳上,滤布不需要开孔,是首尾封闭的。滤浆从板框上部的滤浆进口10流入各个滤框6,滤液穿过滤框6前后两侧的滤布7,从滤板3表面流入下部通道,从滤液出口9流出机外。洗涤滤饼也是如此,洗饼完毕,液压机构按既定间距拉开板框,再将滤框升降架带着全部滤框同时下降一个框的距离,然后开动滤饼推出板4,将框内的滤饼5向水平方向推出落下。滤布由驱动装置2牵引循环行进,并由防止滤布蛇行的装置1自动整位,同时洗刷滤布。卸料清洗结束后,滤框升降架使滤框复位,重新夹紧,进入下一过滤循环。

图1-16-17 自动板框压滤机工作原理图

1-滤布张紧装置 2-滤布驱动装置 3-滤板 4-滤饼推出板 5-滤饼 6-滤框 7-滤布 8-防止滤布蛇形装置 9-滤液出口 10-滤浆进口

还有一种具有橡皮膜的垂直板框自动压滤机,在过滤结束时,可充压缩空气鼓起橡皮膜以压榨滤饼,使滤饼含液量降低。

3.19 离心机

啤酒酵母及絮状冷凝固物,蛋白质类胶体粒子是分散性很高、具胶体性质的悬浮液,采用过滤法,往往容易使过滤介质阻塞。采用离心分离方法,籍离心力的作用,将密度不同的颗粒从液相中分离出来。啤酒行业常用碟片式离心机(参见第1篇第14章第9节)。

3.20 洗瓶机

洗瓶机是啤酒加工最后一道工序——包装工序中的设备。

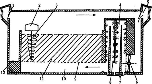
洗瓶机是清洗瓶内外的粘附物,瓶内灭菌,最后将瓶内残存的水滴淋干。对洗瓶机的要求是获得内外干净的无菌玻璃瓶,而且保持最低的瓶子破损率。洗瓶机有机械洗刷和高压喷水冲洗不同型式,现多采用利用碱液浸泡及高压喷水冲洗相结合的方法。图1-16-18所示为洗瓶机工作原理示意图。

图1-16-18 洗瓶机工作原理示意图

1-一次喷洗(25℃) 2-二次喷洗(50℃) 3-高湍流洗涤剂喷射(70℃) 4-水喷射(50℃) 5-水喷射(25℃) 6-最后水喷洗 7-水喷(25℃) 8-水喷(50℃) 9-洗涤剂喷(70℃) 10-二次洗涤剂浸瓶(70℃) 11-一次洗涤剂浸瓶(70℃)

洗瓶机为一长方形槽,机壳内用隔板将槽分隔成若干不同温度区域。由于啤酒瓶经受不起突然较大温差变化,瓶温与浸泡或冲洗液温差不应超过30~35℃,以防止瓶子破裂。每槽均装有温度控制器,严格控制液温。不同浓度的碱溶液、螯合剂和润湿剂放入各浸瓶槽中,两条首尾相连的闭合链条传动带通过各槽,传动带上铰接着瓶筐,瓶筐内并列若干分格盒,瓶子进入机内瓶筐的分格盒中后,依次通过各槽,进行浸瓶、洗瓶,在出口处籍星形导向板将瓶子卸出。传动是周期性的,在停止的间歇,喷嘴喷洗瓶内外。

3.21 喷淋杀菌机

成品啤酒要获得一定的生物稳定性,延长保存期,要将啤酒进行杀(除)菌可采用过滤除菌和加热杀菌方法。过滤除菌比较先进,啤酒口味比加热杀菌好,但灭菌后啤酒须采用无菌灌装。啤酒通过热处理可完全或部分杀灭啤酒内残留的微生物,是目前广泛使用的方法。啤酒在灌装封口后,在灭菌器内加热,维持一定温度和时间,冷却后进行贴标、装箱。灭菌采用巴氏灭菌法。加热方式可以利用热水浸渍、喷淋热水或喷蒸汽几种,达到灭菌目的。

巴氏灭菌设备最简单的是槽式,半机械化的是吊兰式,现普遍采用的是隧道式喷淋杀菌机。隧道式喷淋杀菌机是一大型的隧道式金属槽,灌装后的酒瓶由输送带载运至槽内后,不断地向前移动至出口。槽内分为几个温度区域,采用自动调温和自动记录,由低温达到杀菌温度,再逐步冷却接近室温,然后出槽。各个温度区有不同的温度的水槽和喷嘴,喷嘴将不同温度的水喷成水雾,喷淋瓶子外部,进行加热、杀菌、冷却。水雾越细,热交换的效果越好,为防止喷头或喷嘴结垢,要使用软化水。瓶子的加热和冷却逐渐进行,每分钟内温度应控制在2~3℃,以防止温度突变引起酒瓶爆裂。

喷淋杀菌机型式较多,可按层数和运行方向分为单层喷淋杀菌机和双层喷淋杀菌机;按酒瓶的输送系统又可分为链带式和步移式二种型式。

喷淋杀菌机有同侧进出口和对侧进出口两种。进出口在一侧的双层喷淋杀菌机酒瓶运行方向是先经上层,行至对侧后,酒瓶落至下层再返回原侧,两层各自喷水或上层喷淋后下层继续使用,以节省能源。进出口在两侧的双层喷淋杀菌机,酒瓶在上下两层各自运行至对面出口,双层各自喷水,每层装置相同的喷淋系统。

瓶装作业线上主要设备除洗瓶机和杀菌机外,还有卸箱机、验瓶机、灌装机、压盖机、验酒机、贴标机、装箱机和跺箱机,参见第2篇。

随便看

 

文网收录3541549条中英文词条,其功能与新华字典、现代汉语词典、牛津高阶英汉词典等各类中英文词典类似,基本涵盖了全部常用中英文字词句的读音、释义及用法,是语言学习和写作的有利工具。

 

Copyright © 2004-2024 Ctoth.com All Rights Reserved
京ICP备2021023879号 更新时间:2026/3/21 13:41:01