网站首页  词典首页

请输入您要查询的字词:

 

字词 在下游设备成型的特殊挤出制品
类别 中英文字词句释义及详细解析
释义

在下游设备成型的特殊挤出制品


一个简单的高度定向PP条带的下游操作是许多下游操作方式的一个示例。定向条带有开裂的趋势,因为在定向聚合物的分子链中存在着削弱聚合物间键能的作用。纺丝操作能把定向条带转换成PP稳定的细丝。此细丝可用来编织成袋。

1.三维定型

其它一些在线操作是在二次加工阶段将常见挤出断面重新定型为其它形状。最简单的例子是为了装饰和增加刚性而将挤出物进行浮雕工艺。深度浮雕能对部件赋形。最完整的三维定型是用挤出片材由真空或压力成型。能实现这两种目的两种技术见图17-24和图17-25。第一种技术使用了真空转筒,该转筒将板拉成一定的形状并形成小面积的有用部件,饮料杯和小托盘也能用这种方法制成。大面积的部件的成型方法见图17-25所示。模具可以做得很大。要求之一是模具必须在成型阶段呈周期性或连续运动,用这种方式最主要的理由是避免了传统热塑性片材的反复受热。这样既节省了重新加热的热量,又提高了片材受热的均匀性。一些不能在常规挤出生产线中进行成型的材料能在此生产线“在线”成型。消除足够的热量,使材料达到成型温度,像PP这样的聚合物就能成型。

图17-24 用真空转筒制造深度浮雕片的排列草图

1-挤出机头 2-挤出物 3-真空转筒

图17-25 安装在同步输送器上链状模头进行在线真空压力成型

1-挤出机机头 2-压力成型模头 3-已成型挤出物 4-上部输送器 5-抽真空 6-真空成型模头

2.一维定向

一维定向制品也能由下游设备制得,图17-26表示了如何将一个简单较宽平面板制作瓦楞板和冷却装置中在线操作、重新定型。如图17-27所示,条形带能通过链式定型装置重新定型为波状带材。这种成型应用之一就是用软质PVC材料制作复合型垫片,用于自动密封和建筑构件。

图17-26 在线片材起皱装置

1-挤出机机头 2-滚棒链 3-空气淋喷 4-挤出物

图17-27 在线杆状成型装置

1-挤出机机头 2-成型模头带 3-已成型为波浪式的挤出物

3.卷绕操作

图17-28表示了一种卷绕操作。绝大多数类似用途的产品是电气和气动装置卷绕绳和卷绕管。

图17-28 用于环绕形挤出物的卷绕和切割装置

1-挤出机机头 2-喂料辊 3-旋转计数辊 4-切割器 5-环绕形挤出物 6-旋转模芯

4.切断操作

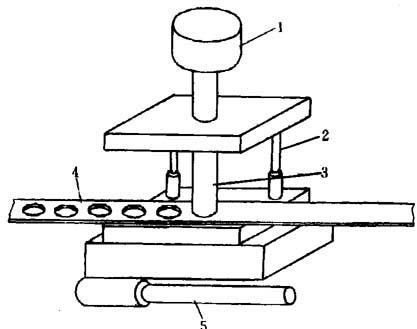
从挤出物中切断一部分是另一成型方法,该方法是挤出的一种扩展。人所共知的方法是冲压成型和旋转模头切断。图17-29表示了用热冲压的方法即热切割或热成型挤出物。

图17-29 安装在同步冲压装置上的热冲压器

1-空气驱动冲压 2-导杆 3-冲压头 4-挤出物 5-同步驱动

图17-30表示如何用激光器来切割制品,其优点是:选择性强与清洁度高。例如,一束激光能切透多层异型材壁。另外,通过光系统能切割或成型为一致的形状,使用了光电跟踪器取消了机械同步。又提高了切割效率。

图17-30 在管壁或另外的挤出物上,使切割精确和孔眼光滑的激光打孔装置

1-激光器 2-空气流 3-挤出机机头 4-激光器焦点 5-挤出物

5.扭曲操作

在扭曲操作中,异型材被扭曲,见图17-31和图17-32。图17-31表示了如何用旋转环生产被扭曲的同一尺寸的异型棒材。图17-32表示了用交叉履带的拉杆进行的扭曲操作。这是一种能调节任何形状的通用方法,是扩大制品形态的一种有效方法。

图17-31 制造扭曲棒的扭曲轴套

1-旋转环 2-扭曲挤出物

图17-32 在拉杆交叉履带上制造扭曲棒示意图

(a)俯视图 (b)侧视图

1-直线挤出物 2-交叉杆 3-扭曲挤出物

本章阐述了以挤出机为基本生产设备生产不同制品的可能性。用一些特殊成型方法赋予制品特殊性能。具有新功能的制品是用一些特殊原料和原料组合制成。还有一类制品是使用特殊模头制成。通过下游操作,制品的性能得以扩展,改变了挤出物的形状和特性。

随便看

 

文网收录3541549条中英文词条,其功能与新华字典、现代汉语词典、牛津高阶英汉词典等各类中英文词典类似,基本涵盖了全部常用中英文字词句的读音、释义及用法,是语言学习和写作的有利工具。

 

Copyright © 2004-2024 Ctoth.com All Rights Reserved
京ICP备2021023879号 更新时间:2025/10/18 20:33:31