1.基槽开挖边线放线与水平桩的测设
(1)基槽开挖边线放线
在基础开挖之前,应按照基础详图上的基槽宽度再加上口放坡的尺寸,由中心桩向两边各量出相应尺寸,并作出标记;然后在基槽两端的标记之间拉一细线,沿着细线在地面用白灰撒出基槽边线,施工时就按此灰线进行开挖。
(2)测设水平桩
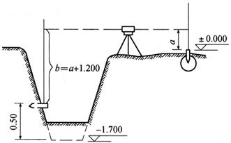
为了控制基槽开挖深度,在即将挖到槽底设计标高时,用水准仪在槽壁上测设一些水平的小木桩(图10-16),使木桩的上表面离槽底设计标高为一固定值(如0.500m),用以控制挖槽深度。为了施工时使用方便,一般在槽壁各拐角处和槽壁每隔3~4m处均测设一水平桩,水平桩可作为挖槽深度、修平槽底和打基础垫层的依据。水平桩高程测设允许误差为±10mm。如图10-16所示,假设槽底设计标高为-1.700m,按图中所列数据,测站上应有的前视读数为a+1.200(a为后视读数),此时打水平桩,则水平桩的标高即为-1.200m。施工时,自水平桩面向下量取0.500m即为槽底的设计位置。

图10-16 测设水平桩(单位:m)
2.基础施工测量
(1)垫层中线的测设
基础垫层浇注后,根据龙门板上的轴线钉或轴线控制桩,用经纬仪或用拉绳挂垂球的方法(图10-17),把轴线投测到垫层面上,并用墨线弹出墙中心线和基础边线,作为砌筑基础的依据。由于整个墙身砌筑均以此线为准,所以要进行严格校核。

图10-17 基础垫层中线的测设
(2)基础墙标高的控制
基础墙是指±0.00以下的墙。当墙中心线投在垫层上,用水准仪检测各墙角垫层面标高后,即可开始基础墙的砌筑。基础墙的高度是用基础皮数杆控制的。
皮数杆用一根木杆制成,在杆上按照设计尺寸将砖和灰缝的厚度,分皮一一画出,每五皮砖标注上皮数(基础皮数杆的层数从±0.000向下注记),并标明±0.000、防潮层和需要预留洞口的标高位置等,如图10-18所示。立皮数杆时,可先在立杆处打一木桩,用水准仪在木桩侧面定出一条高于垫层标高某一数值(如10cm)的水平线;然后将皮数杆上标高相同的一条线与木桩上的水平线对齐,并用大铁钉把皮数杆与木桩钉在一起,作为基础墙砌筑标高的依据。

图10-18 基础墙标高的控制
当基础墙砌到±0标高下一皮砖时,要测设防潮层标高,允许误差为≤±5mm。有的防潮层是在基础墙上抹一层防水砂浆,也作为墙身砌筑前的抹平层。
基础施工结束后,应检查基础面的标高是否符合设计要求。可用水准仪测出基础面四角和其他轴线交点是否水平,其高程与设计高程相比较,允许误差为±10mm。