网站首页  词典首页

请输入您要查询的字词:

 

字词 常用阀门型号规格
类别 中英文字词句释义及详细解析
释义

常用阀门型号规格


1.球阀(广东球阀厂产品)

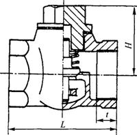
(1)内螺纹管式球阀(CQ11F) 结构见图4-14-6,规格见表4-14-11。

图4-14-6 内螺纹管式球阀(CQ11F)

表4-14-11 内螺纹管式球阀(CQ11F)规格 单位:mm

(2)内螺纹球阀(Q11F) 结构见图4-14-7,规格见表4-14-12。

图4-14-7 内螺纹球阀(Q11F)

表4-14-12 内螺纹球阀(Q11F)规格

(3)内螺纹球阀(三块式)(Q11F) 结构见图4-14-8,规格见表4-14-13。

图4-14-8 内螺纹球阀(Q11F)

表4-14-13 内螺纹球阀(Q11F)规格

(4)外螺纹球阀(通口、缩口型)(Q21F) 结构见图4-14-9,规格见表4-14-14。

图4-14-9 外螺纹球阀(Q21F)

表4-14-14 外螺纹球阀(Q21F)规格

(5)外螺纹球阀(Q21F) 结构见图4-14-10,规格见表4-14-15。

图4-14-10 外螺纹球阀(Q21F)

表4-14-15 外螺纹球阀(Q21F)规格

(6)法兰球阀(Q41F) 结构见图4-14-11,规格见表4-14-16。

图4-14-11 法兰球阀(Q41F)

表4-14-16 法兰球阀(Q41F)规格

2.截止阀

(1)内螺纹截止阀 桂林第二阀门厂产品的结构见图4-14-12,规格见表4-14-17。

图4-14-12 内螺纹截止阀

表4-14-17 内螺纹截止阀规格

(2)两用型截止阀 太湖阀门厂产品的结构见图4-14-13,规格见表4-14-18。

图4-14-13 两用型截止阀

表4-14-18 两用型截止阀规格

3.止回阀

(1)内螺纹升降式止回阀(HJ11W-16) 辽宁瓦房店阀门厂产品的结构见图4-14-14,规格见表4-14-19。

图4-14-14 内螺纹升降式止回阀(HJ11W-16)

表4-14-19 内螺纹升降式止回阀(HJ11W-16)规格

(2)内螺纹升降式止回阀(H11T-16) 山西汾阳阀门厂产品的结构见图4-14-15,规格见表4-14-20。

图4-14-15 内螺纹升降式止回阀(H11T-16)

表4-14-20 内螺纹升降式止回阀(H11T-16)规格

(3)法兰联接升降式止回阀(H41T-16) 山西汾阳阀门厂产品的结构见图4-14-16,规格见表4-14-21。

图4-14-16 法兰联接升降式止回阀(H41T-16)

表4-14-21 法兰联接升降式止回阀(H41T-16)规格

4.疏水阀

(1)自由浮球式蒸汽疏水阀 成都航空仪表公司产品的结构见图4-14-17,规格见表4-14-22。

图4-14-17 自由浮球式蒸汽疏水阀

1-阀体 2-阀盖 3-浮球 4-螺塞 5-阀座 6-螺塞 7-滤网 8-浮动罩 9-排气口 10-双金属片 11-螺塞 12-螺塞

表4-14-22 自由浮球式蒸汽疏水阀规格

(2)钟形浮子式疏水阀 桂林第二阀门厂产品的结构见图4-14-18,规格见表4-14-23。

图4-14-18 钟形浮子式疏水阀

表4-14-23 钟形浮子式疏水阀规格

(3)钟形浮子式法兰疏水阀 上海奉贤机械厂产品的结构见图4-14-19,规格见表4-14-24。

图4-14-19 钟形浮子式法兰连接疏水阀

表4-14-24 钟形浮子式法兰联接疏水阀规格

5.安全阀

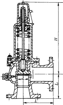
(1)外螺纹弹簧封闭式安全阀(A21H-16C) 上海闸门厂产品的结构见图4-14-20,规格见表4-14-25。

图4-14-20 外螺纹弹簧封闭式安全阀(A21H-16C)

表4-14-25 外螺纹弹簧封闭式安全阀(A21H-16C)规格

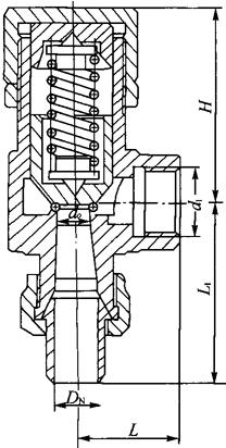
(2)弹簧封闭式安全阀(CA4A1Y-16C、CA4A1Y-16P) 沈阳第一闸门厂产品的结构见图4-14-21,规格见表4-14-26。

图4-14-21 弹簧封闭式安全阀(CA4A1Y)

表4-14-26 弹簧封闭式安全阀(CA4A1Y)规格

随便看

 

文网收录3541549条中英文词条,其功能与新华字典、现代汉语词典、牛津高阶英汉词典等各类中英文词典类似,基本涵盖了全部常用中英文字词句的读音、释义及用法,是语言学习和写作的有利工具。

 

Copyright © 2004-2024 Ctoth.com All Rights Reserved
京ICP备2021023879号 更新时间:2026/4/16 15:35:28