网站首页  词典首页

请输入您要查询的字词:

 

字词 托带轮
类别 中英文字词句释义及详细解析
释义

托带轮


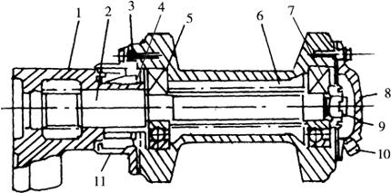
托带轮用来托住履带上方区段,防止履带下垂过大而引起振跳和侧向滑脱。东方红-75、802型拖拉机的托带轮如图4-25所示。它是整体铸钢件,通过2个向心球轴承安装于托带轮轴上,其内端装有端面油封,外端有托带轮盖,盖上设置注油螺塞,工作中用机油润滑,托带轮轴固定在车架上。

图4-25 东方红-75、802型拖拉机托带轮

1.托架 2.托带轮轴 3.密封壳 4.端面油封 5、7.向心球轴承 6.托带轮 8.托带轮盖 9.螺帽 10.加放油螺塞 11.密封罩

随便看

 

文网收录3541549条中英文词条,其功能与新华字典、现代汉语词典、牛津高阶英汉词典等各类中英文词典类似,基本涵盖了全部常用中英文字词句的读音、释义及用法,是语言学习和写作的有利工具。

 

Copyright © 2004-2024 Ctoth.com All Rights Reserved
京ICP备2021023879号 更新时间:2025/10/17 12:14:18