网站首页  词典首页

请输入您要查询的字词:

 

字词 气割工艺
类别 中英文字词句释义及详细解析
释义

气割工艺


1.气割工艺参数

(1)割嘴到工件表面的距离 预热火焰焰心一般应离开工件表面2~4mm。距离过小,飞溅时易堵塞割嘴,造成回火;过大则预热不充分,切割氧流动能下降,使排渣困难,影响切割质量。割嘴到工件表面的距离可按表1-11-13选取。

表1-11-13 割嘴到工件表面的距离h[3]

(2)切割倾角 割嘴与割件间的切割倾角直接影响气割速度和后拖量。切割倾角的大小主要根据割件厚度而定,气割小于6mm厚钢板时,割嘴应向后倾斜5°~10°;气割6~30mm厚钢板时,割嘴应垂直于割件;气割大于30mm厚钢板时,开始气割应将割嘴向前倾斜5°~10°,待割穿后割嘴应垂直于工件,当快割完时,割嘴应逐渐向后倾斜5°~10°。割嘴的切割倾角与割件厚度的关系如图1-11-5所示。

图1-11-5 割嘴的倾斜角与割件厚度的关系

1.厚度小于6mm时,2.厚度为6~30mm时,3.厚度大于30mm时

(3)预热时间 预热时间应根据割件厚度而定,表1-11-14为选定预热时间的经验数据。预热火焰采用中性焰或轻微的氧化焰。预热火焰能率与割件厚度有关,割件愈厚,预热火焰能率愈大。

表1-11-14 预热时间[3]

(4)切割速度 切割速度必须与切口内金属的氧化速度相适应。氧化速度快,排渣能力强,则可以提高切割速度。切割速度过慢会降低生产效率,且会造成切口局部熔化,影响割口表面质量。切割速度过快,会形成较大的后拖量,甚至造成切割中断。

机器切割速度比手工切割速度平均可提高20%,表1-11-15为机器切割速度的推荐数据。

表1-11-15 机器分离切割时切割速度的推荐数据[3](mm·min-1)

注:上述数据是在切割氧纯度为99.5%时获得的。

2.气割工艺

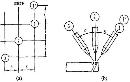
普通等压式割嘴、快速割嘴(扩散形)、氧气瓶割嘴机械切割低碳钢的工艺参数如表1-11-16~1-11-18所示。大厚度碳钢和低合金钢的气割工艺参数如表1-11-19、表1-11-20所示,双Y坡口切割时割嘴的配置和工艺参数如图1-11-6和表1-11-21、表1-11-22所示,Y形和倒Y形坡口切割时喷嘴配置如图1-11-7所示,气割U形坡口割嘴配置如图1-11-8所示,工艺参数如表1-11-23所示,通过控制中间割炬中两个割嘴的切割氧压力,割出所需的弧形,可获得精度较高的坡口,且耗氧量少。气割零件的尺寸偏差允许值如表1-11-24所示,气割切割面的粗糙度要求如表1-11-25所示。

表1-11-16 普通等压式割嘴机械切割低碳钢的工艺参数[1]

表1-11-17 快速割嘴(扩散型)机械切割低碳钢的工艺参数[1]

表1-11-18 氧气瓶割嘴机械切割低碳钢的工艺参数[1]

表1-11-19 大厚度碳钢和低合金钢手工切割工艺参数[1]

表1-11-20 大厚度碳钢和低合金钢低压大流量氧手工切割工艺参数[1]

注:对其他厚度(δ)的钢材,其切割氧耗量Q可按公式Q=0.09-0.14δ(m3·h-1)计算。

表1-11-21 普通割嘴切割双Y焊接坡口的工艺参数[1]

图1-11-6 双Y坡口一次切割的割嘴配置

表1-11-22 快速割嘴切割双Y焊接坡口的工艺参数[1]

注:①割炬1′用于预热,不参加切割。

②割炬间的纵向间距A根据板厚和坡口角度取10~20mm,以切割面上边缘不熔化、下边缘不粘附熔渣为准。

③所列参数为坡口角45°时的切割参数,如坡口角为30°时,切割速度可加快10%~15%。

④切割氧的纯度≥99.7%。纯度较低时,切割速度要适当减慢。

⑤钢板表面状态(如有氧化皮或车间底漆)不同,切割速度也要作相应调整。

图1-11-7 Y形和倒Y形坡口一次切割的喷嘴配置

(a)Y形坡口 (b)倒Y形坡口

图1-11-8 U形坡口的气割

表1-11-23 气割U形坡口的工艺参数[1]

表1-11-24 气割零件尺寸偏差的允许值[4](mm)

表1-11-25 气割切割面粗糙度和缺口的规定[4](μm)

随便看

 

文网收录3541549条中英文词条,其功能与新华字典、现代汉语词典、牛津高阶英汉词典等各类中英文词典类似,基本涵盖了全部常用中英文字词句的读音、释义及用法,是语言学习和写作的有利工具。

 

Copyright © 2004-2024 Ctoth.com All Rights Reserved
京ICP备2021023879号 更新时间:2026/5/28 23:17:34