网站首页  词典首页

请输入您要查询的字词:

 

字词 气焊设备
类别 中英文字词句释义及详细解析
释义

气焊设备


气焊设备由氧气瓶、氧气减压器、乙炔发生器(或乙炔瓶和乙炔减压器)、回火保险器、焊炬和橡皮管等组成,如图12-1所示。

图12-1 气焊设备组成

1-氧气瓶 2-减压器 3-乙炔发生器 4-回火保险器 5-橡皮管 6-焊炬

1.乙炔发生器

乙炔发生器是利用电石和水相互作用,进行化学反应产生一定压力的乙炔气体的装置。目前在我国应用仍较广泛。乙炔发生器有低压和中压两种。前者乙炔压力低于0.007MPa,后者乙炔压力为0.007~0.13MPa。浮筒式低压乙炔发生器不安全,目前基本上被淘汰。现在我国广泛使用中压乙炔发生器,常见型号及参数见表12-2。

表12-2 中压乙炔发生器型号及其参数

2.氧气瓶

氧气瓶是贮存和输送高压氧气的容器。瓶体为天蓝色,并漆有“氧气”黑色字样。氧气瓶容量一般为40L,额定工作压力为15MPa。

3.减压器

减压器是将气瓶中高压气体的压力减到气焊气割所需压力的一种调节装置。减压器不但能减低压力,调节压力,而且能使输出的低压气体的压力保持稳定,不会因气源压力降低而降低。气焊气割用减压器有氧气减压器、乙炔减压器和丙烷减压器等。表12-3所列的是几种常用的减压器及其性能参数。

表12-3 几种常用的减压器及其性能参数

注:①1″(1英寸)=25.4mm。

4.乙炔瓶

乙炔瓶是贮存和输送乙炔的容器。瓶体漆成白色,并漆有“乙炔”红色字样。瓶内装有浸满着丙酮的多孔性填料,可使乙炔以1.5MPa的压力安全地贮存在瓶内。使用时,必须用乙炔减压器将乙炔压力降到低于0.103MPa方可使用。多孔性填料通常用质轻而多孔的活性炭、木屑、浮石和硅藻土等合制而成。乙炔瓶比乙炔发生器安全而且卫生,目前正逐步取代乙炔发生器。

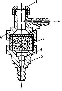
5.回火保险器

回火保险器是装在燃料气体系统上,防止火焰向燃气管路或气源回烧的保险装置。回火保险器有水封式和干式两种。水封式中压回火保险器如图12-2所示。干式回火保险器如图12-3所示。使用水封式回火保险器时一定要先检查水位。

图12-2 水封式中压回火保险器

(a)正常工作 (b)发生回火

1-进气口 2-止回阀 3-筒体 4-水位阀 5-挡板 6-滤清器 7-出气口 8-橡皮膜 9-放气活门 10-放气口 11-弹簧

图12-3 干式回火保险器

1-防爆橡皮膜 2-橡皮压紧垫圈 3-滤清器 4-橡皮反向活门 5-下端盖 6-上端盖

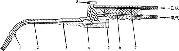
6.焊炬

焊炬是气焊时用于控制气体混合比、流量及火焰并进行焊接的工具。焊炬有射吸式和等压式两种。射吸式焊炬构造原理如图12-4所示。氧气从喷嘴以很高速度射入吸管,将低压乙炔吸入射吸管。因此,它适用于0.001~0.10MPa的低压和中压乙炔。等压式焊炬构成原理如图12-5所示。它只适用于中压乙炔。我国广泛使用射吸式焊炬。我国生产的射吸式焊炬型号及参数见表12-4,等压式焊炬的型号及其参数见表12-5。

图12-4 射吸式焊炬的构造原理

1-焊嘴 2-混合管 3-射吸管 4-喷嘴 5-氧气阀 6-氧气导管 7-乙炔导管 8-乙炔阀

图12-5 等压式焊炬的构造原理

1-混合室 2-调节阀 3-氧 4-乙炔

表12-4 射吸式焊炬型号及其参数

注:型号中H表示焊炬,0表示手工,1表示射吸式,后缀数字表示焊接低碳钢最大厚度,单位为mm。

表12-5 等压式焊炬型号及其参数

注:型号中H表示焊炬,0表示手工,2表示等压式,后缀数字表示最大的焊接低碳钢厚度(mm)。

随便看

 

文网收录3541549条中英文词条,其功能与新华字典、现代汉语词典、牛津高阶英汉词典等各类中英文词典类似,基本涵盖了全部常用中英文字词句的读音、释义及用法,是语言学习和写作的有利工具。

 

Copyright © 2004-2024 Ctoth.com All Rights Reserved
京ICP备2021023879号 更新时间:2025/10/18 14:04:08