5.5.4.1 砂箱的分类
砂箱的分类见表5-91和表5-92.
5.5.4.2 砂、箱各部分的结构尺寸
砂箱各部分的结构尺寸如下:
(1)内框尺寸的确定、吃砂量的选择参照图5-20和表5-93.
(2)通用砂箱规格系列见表5-94.

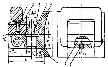
图5-19 铰链卡板式夹紧装置结构
1—夹子;2—沉头螺钉;3—垫片;4—定位销套;5—定位销;6—上芯盒;7—下芯盒;8—圆柱销;9—紧定螺钉
表5-91 砂箱按造型方法分类

表5-92 砂箱按制造方法和材料分类


图5-20 砂箱箱壁、箱带和模样间吃砂量示意图
表5-93 砂箱箱壁、箱带和模样间最小吃砂量尺寸 mm

表5-94 通用砂箱规格系列表 mm

注:表中用粗实线括上的是砂箱尺寸系列范围,表中作●点的为生产中应用较多的规格.