网站首页  词典首页

请输入您要查询的字词:

 

字词 红葡萄酒的传统发酵法
类别 中英文字词句释义及详细解析
释义

红葡萄酒的传统发酵法


一、发酵容器

红葡萄酒传统发酵法普遍应用于中、小型企业和老企业。发酵容器多为开放式水泥池。传统发酵容器的几种型式见图3-3-1、图3-3-2、图3-3-3。

图3-3-1 带喷淋装置开放式发酵池

图3-3-2 带压板装置开放式发酵池

图3-3-3 带自动喷淋装置的发酵池

近年来随着葡萄酒的技术进步,红葡萄酒的发酵为了便于控制发酵条件,节省人工,减轻工人劳动强度,提高酒的质量,红葡萄酒的发酵容器——传统的水泥池逐步被新型发酵罐所取代。红葡萄酒发酵罐的几种型式见图3-3-4、图3-3-5、图3-3-6、图3-3-7。

图3-3-4 带夹套装置发酵罐

1-夹套 2-安全阀 3-进出料口

图3-3-5 新型红葡萄酒发酵罐

图3-3-6 斜底发酵罐

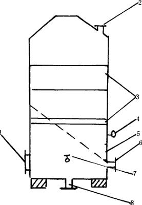
图3-3-7 带冷却装置的发酵罐

1-人孔 2-进料口 3-冷却夹套 4-温度计插口 5-罐体 6-排汁口 7-视镜 8-排渣口

二、传统发酵法生产中应注意的关键问题

(一)容器充满系数

葡萄汁在进行酒精发酵时体积增加。其原因是发酵时本身产生热量,葡萄醪温度升高使体积增加,二是发酵时产生大量CO2气不能及时排出,也导致体积增加。为保证发酵的正常进行,一般容器的充满系数为80%。

葡萄破碎时其重量和体积关系依破碎时除梗和不除梗而变化。其重量和体积的关系见表3-3-4。

表3-3-4 葡萄重量和体积的关系

(二)前发酵期间的工艺管理

葡萄酒前发酵主要目的是进行酒精发酵,浸提色素物质和芳香物质。前发酵进行的好坏是决定葡萄酒质量的关键,前发酵期间的工艺管理是否得当关系发酵的成败。前发酵工艺管理主要是:

1.皮渣的浸渍

葡萄破碎后送入敞口发酵池,因葡萄皮比重较葡萄汁小,再加上发酵时产生CO2,葡萄皮渣往往浮在葡萄汁表面,形成很厚的盖子,这种盖子有些地区称为“酒盖”,有些地区称为“皮盖”。因皮盖浮在葡萄汁表面与空气直接接触,容易感染有害杂菌,败坏葡萄酒质量。为保证葡萄酒的质量,并充分浸渍皮渣上的色素和香气物质,须将“皮盖”压入葡萄醪中。“压盖”的方法有两种,一种是人工“压盖”,每天“压盖”次数视葡萄醪温度和发酵池容量而定。详见表3-3-5,表3-3-6。

表3-3-5 温度和压盖次数的关系

表3-3-6 发酵池容量和压盖次数的关系

人工“压盖”的原始操作,是工人用木棍搅拌,把皮渣压入葡萄汁中。现在大多是用泵将汁液由发酵容器底部的出汁口抽出,喷淋到皮盖上,循环时间视发酵池容量而定。

另一种“压盖”方法是在发酵池四周制成卡口,装上压板,压板的位置恰好使“皮盖”浸于葡萄汁中。

2.温度的控制

(1)温度对红葡萄酒质量的影响 发酵温度是影响红葡萄酒色素物质含量和色度值大小的主要因素。一般讲,发酵温度高,葡萄酒的色素物质含量高,色度值高。若人为进行温度控制,使发酵在恒温下进行,葡萄酒中色素物质含量和色度值见表3-3-7。

表3-3-7 色素物质含量、色度值与温度的关系

若采用自然温度发酵.葡萄酒中色素含量和色度值见表3-3-8。

表3-3-8 色素物质含量、色度值与温度的关系

注:表3-3-7、表3-3-8葡萄品种为佳丽酿。

从葡萄酒色素含量和色度值角度讲,发酵温度稍高为好。但是从红葡萄酒的质量,如口味的醇和,酒质的细腻,果香酒香等综合考虑,发酵温度控制低一些为好。红葡萄酒发酵温度一般控制在25~30℃。

(2)发酵最高温度的计算 发酵最高温度(tmax)的计算可根据下列公式求得近似值:

tmax=t0+△t

式中 t0——葡萄汁初始温度(℃)

△t——发酵时升高的温度(℃)

式中 Q——发酵时放出的热量(kJ)

V——葡萄汁的体积(L)

C——葡萄汁的比热容[kJ/(kg·℃)]

d——葡萄汁的相对密度(1.08)

式中 W——葡萄汁含糖量(g/L)

V——葡萄汁体积(L)

q——1mol的糖发酵时放出的热量(kJ)

M——1mol糖的重量(g)

(3)人工冷却所需热量的计算 若发酵温度超过极限温度,为保证发酵的正常进行则需制冷降温。降温时需要冷却的量可用下列公式计算:

Q=V·c·d(tmax-t)

式中 Q——所需冷却的量(kJ)

V——葡萄汁的体积(L)

c——葡萄汁的比热容[kJ/(kg·℃)]

d——葡萄汁的相对密度

tmax——发酵时的最高温度(℃)

t——发酵时允许的极限温度(℃)

(4)红葡萄酒发酵降温方法 见表3-3-9。

表3-3-9 红葡萄酒发酵降温方法

3.葡萄汁的循环

红葡萄酒发酵时进行葡萄汁循环可起以下方面的作用。

(1)增加葡萄酒的色素物质含量和色度 红葡萄酒发酵时,葡萄汁循环与不循环,葡萄汁中色素物质含量和色度见表3-3-10。

表3-3-10 葡萄汁循环与不循环对照表

注:(1)本表葡萄品种为汉堡麝香。

(2)循环是第一到第三天循环2次。

(2)可降低葡萄汁温度。

(3)开放式循环可使葡萄汁和空气接触,增加酵母的活力。

(4)葡萄浆与空气接触可促进酚类物质的氧化,使之与蛋白质结合形成沉淀,加速酒的澄清。

4.出池与压榨

主发酵结束后即可出池,主发酵结束时醪液的外观及理化指标见表3-3-11。

表3-3-11 主发酵结束时葡萄醪液外观和理化指标

出池时先将自流原酒由排汁口放出,放净后打开人孔清理皮渣进行压榨。

红葡萄酒前发酵结束后各种物质所占比例如表3-3-12所示。

表3-3-12 前发酵结束后各种物质所占比例

自流原酒和压榨原酒成分差异较大。若酿制高档名贵葡萄酒应单独储存。自流原酒和压榨原酒成分见表3-3-13。

表3-3-13 自流原酒和压榨原酒成分区别

(三)前发酵容易发生的异常现象的原因及改进措施

正常的前发酵耗糖曲线如图3-3-8。

图3-3-8 正常的前发酵耗糖曲线图

异常前发酵耗糖曲线见图3-3-9。

图3-3-9 异常的前发酵耗糖曲线图

前发酵期间常见的异常现象、发生的原因及改进措施见表3-3-14。

表3-3-14 前发酵期间常发生的异常现象、产生原因及改进措施

三、红葡萄酒的压榨设备

目前红葡萄酒酿造中应用的压榨设备可分为两种,一种是间歇式,另一种是连续式。

(一)间歇式压榨机

1.筐式螺旋压榨机

筐式压榨机是我国葡萄酒行业最原始的间歇压榨机,目前一些产量小的企业仍沿用这种压榨机。这种压榨机的结构,技术参数如表3-3-15。

表3-3-15 筐式压榨机结构、技术参数

2.卧式双压板压榨机

双压板压榨机结构、技术参数等情况见表3-3-16。

表3-3-16 双压板压榨机的结构和技术参数

3.卧式气压机

卧式气压机的结构和技术参数等如表3-3-17所示。

表3-3-17 卧式气压机的结构和技术参数

4.气囊压榨机

气囊压榨机在欧洲一些先进的葡萄酒生产国应用较普遍。下面介绍意大利Diemme公司生产的气囊压榨机(表3-3-18)。

表3-3-18Diemme公司气囊压榨机的结构和技术参数

(二)连续压榨机

连续压榨机广泛应用于葡萄浆和前发酵醪的皮渣压榨。国产5t/h、JLY450和JLY630连续压榨机的结构和技术参数等见表3-3-19。

表3-3-19 几种连续压榨机的结构和技术参数

四、后发酵的工艺管理

后发酵的工艺管理见表3-3-20。

表3-3-20 后发酵的工艺管理

随便看

 

文网收录3541549条中英文词条,其功能与新华字典、现代汉语词典、牛津高阶英汉词典等各类中英文词典类似,基本涵盖了全部常用中英文字词句的读音、释义及用法,是语言学习和写作的有利工具。

 

Copyright © 2004-2024 Ctoth.com All Rights Reserved
京ICP备2021023879号 更新时间:2025/10/18 22:01:57