网站首页  词典首页

请输入您要查询的字词:

 

字词 线缆包覆成型
类别 中英文字词句释义及详细解析
释义

线缆包覆成型


线芯有铜和铝两类,单根线芯的直径分别有:1.76mm、2.24mm、2.73mm等。塑料包覆层及线芯用料量的比例随包覆层厚度及线芯直径而异,上述三种规格的线芯包覆PVC塑料后所得的电线直径分别为3.0mm、3.6mm、4.3mm。

线缆是挤出包覆成型的重要产品。线缆包覆生产线是由挤出机、口模、水槽及检测机等组成,其工艺流程见图14-11。典型的线缆包覆生产线见图14-12。

图14-11 线缆包覆生产工艺流程示意图

金属导线由送料装置经矫正机和预热器进入直角式口模的导线器,从挤出机送出来的熔体绕导线而形成管状物,并在口模的成型段紧密地贴合,这种已被包覆的导线离开口模而进入水槽冷却,再经过绝缘检验机,经牵引轮引到卷绕机上卷绕成圈。

典型线缆生产线排列见图4-12。该生产线由线料架、第一个绞盘、一只预热器、口模、冷却槽、火花测试仪、第二只绞盘和卷绕装置组成。

图14-12 典型的线缆包覆生产线示意图

1-线料 2-预热 3-真空 4-挤出机 5-冷却槽 6-火花测试仪 7-绞盘 8-卷绕

供给的线料是金属线。供线装置通常是双辊装置。在这边,当一只卷筒拿出时,沿着第一卷筒的轨道,第二只收线卷筒靠过来,使成型连续化。用同步驱动方式将两只绞盘系在一起,以致于金属线能保持恒定的拉伸,并且在张紧的条件下经过口模。

为了防止由于金属线而使熔融塑料早期冷却,经过熔融塑料的线材必须经过预热。然后,被涂覆的线缆离开口模,进入冷却水箱,以固化塑料。

在生产绝缘线的线材生产速度很快时。为了防止产生大量废品,必须检测绝缘夹套空隙或弱点。为了不产生废品,已涂覆的线材在水中呈条状,冷却后经过火花测试,即在夹套表面与线材之间产生高压电。如果有针孔或绝缘性较差,则线材就会被击穿,此现象被看到或被记录下来。

该生产线中并没有配拉力机,因为对于较轻的表面塑料,不需要配拉力机。对于较重的线材,在第二只绞盘和卷架之间设置拉力机,在生产中以保持张力,合并绞盘功能比较有效的方法。

在生产大量电缆的场合下,有些卷绕和绞盘装置必须制成大直径大容量,并且需要较大的设备以提供重电缆所需要的拉力。

1.挤出机

挤出线用挤出机一般有Φ30~Φ200几种规格,不同规格挤出机生产线缆外径如表14-2所示。螺杆长径比为18、20均有应用,使用较长的长径比的螺杆,可在高速下进行操作。螺杆直径以65mm较多。

表14-2 不同规格挤出机生产线缆外径尺寸 单位:mm

2.机头

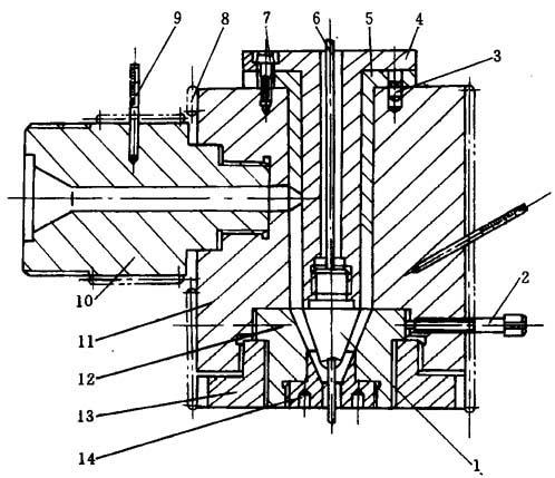
在线缆包覆生产线中,线缆包覆直角机头是关键的部件。图14-13是线缆包覆直角机头结构示意图。

图14-13 线缆包覆直角机头结构示意图

1-分流锥 2-调节螺钉 3-销钉 4-芯棒 5-模套 6-铜线 7-内六角螺钉 8-加热装置 9-温度计 10-机颈 11-机体 12-口模套 13-锁母 14-口模

螺杆的轴线与线材的角度有90°、60°、45°和30°。较小的角度对塑料的包覆较为有利。

从塑料熔体对线芯受压力的情况,可将包覆机头分为两类:一类为压力机头;另一类是管状机头,见图14-14。

图14-14 两类线缆包覆用机头结构

(a)压力机头 (b)管型机头

1-塑料 2-真空

压力机头的特点是线芯穿过机头进而被熔体包围并均匀包覆,因而,可使熔体对线芯有密切的接触和粘附,这主要用于挤出以绝缘为主的产品,即生产电线。管型机头则是,虽然挤出物和线芯同心,但在管型机头内径较大,成为一个管,因而,在机头内,管内表面与线芯不接触,然后,在管与线芯之间抽真空,管即收缩在线芯上。这种机头常用于已经包覆有绝缘层的电线上,即生产有护套层的电线和电缆。

涂覆操作不限于线材,金属管这样的制品也能用直角机头挤出。

除了部分的包括引导操作的部件,线材涂覆模头由基本相同用于管材模头的钢材所制成。通常使用4100系列准不锈钢材料,对腐蚀性树脂则使用300系列的不锈钢材料,并且17-4ph材料是普通的。线材引导装置通常用抗磨损的钨工具钢制成,因为当线材经过模头时会产生的高磨损速率。在线缆包覆机头的线材引导装置通常不用陶瓷和兰宝石做口模。

和其它的涂覆模头一样,线缆涂覆最关键的设计领域是内部流道设计,以制造均匀的涂覆制品。直角机头引起了熔料流动的复杂性。根据制品绝缘壁厚均匀性,保证线材周围压力的均匀是必须的。在高线速度(普通超过550m/min)下,可能会发生另一个问题:即减少模头内压力所引起的拖曳流动。这个问题可由改变模头形状或调节线材运动和塑料流动的相对速率来解决。涂覆模头的优质设计是线材高产量的明确的技术性结论。

3.原料的准备

电缆料如吸湿,则应烘干。作为线芯的线材要从绕线筒上展卷,一般安装两台展卷机,以便当一台绕线轴用完后,另一台即可开始向挤出机供线。单股线材在进入挤出机机头前应被拉直,它可以通过一系列的导辊来完成。随后,线材应预热,以保证塑料熔体良好的粘附,以及在包覆中变形较小。

4.工艺参数实例

PVC电绝缘料包覆导线以制造电力线的挤出工艺条件如下:料筒温度依次为(分3段控温)130~140℃,155~165℃,175~185℃;口模温度为190~200℃。也有厂家采用较低的温度,如料筒温度依次为(分3段控温)150℃,160℃,170℃;口模温度为180℃。温度的控制受许多因素的影响。

用HDPE绝缘料制造通讯电线的放线工艺条件如下:导线预热温度为90~110℃;料筒温度依次为(分4段控温)180~200℃,200~220℃,220~240℃,240~260℃;机头与口模温度为240~260℃,220~240℃。牵引速度为1800~2000m/h。

用LDPE护套料包覆电缆的温度要低些(130~160℃),放线速度也要稍慢(20~40m/min)。

几种电线电缆生产时的工艺参数见表14-3。

表14-3 几种电线电缆生产时的工艺参数

5.热处理工艺

冷却后的半成品随后进入封闭式热处理烘道(也称为交联管道),烘道长40~50m,蒸气压力为1.47MPa。

随便看

 

文网收录3541549条中英文词条,其功能与新华字典、现代汉语词典、牛津高阶英汉词典等各类中英文词典类似,基本涵盖了全部常用中英文字词句的读音、释义及用法,是语言学习和写作的有利工具。

 

Copyright © 2004-2024 Ctoth.com All Rights Reserved
京ICP备2021023879号 更新时间:2025/10/16 13:14:47