预混用的设备主要是装有蒸汽夹套的机械搅拌机(也称为捏和机),大致可分为低速搅拌机、高速搅拌机和管道式搅拌机三种。目前常用的是前两种,由于低速搅拌机生产效率低,劳动保护差,故不常用,一般趋向于高速搅拌机。
(一)低速搅拌机
这类搅拌机有Z形搅拌机,∑形搅拌机,螺带式搅拌机等等,其搅拌桨叶的结构形式虽有不同,而搅拌效率基本相同,均属于低速、低效、开放式间歇操作的搅拌装置。现以Z形搅拌为例说明如下。该种装置的主体是钢槽,槽底为两个半圆形,内衬不锈钢,槽体装有夹套可通蒸汽加热或冷却,槽壁两边近底部装有一对相反转动的Z形搅拌桨(见图3-2-2),其主轴转速一般为20~40r/min,副轴为10~20r/min,速比大致是221。Z形搅拌桨见图32-3。搅拌浆也可以是其它形式,见图3-2-4。

图3-2-2 Z形搅拌机示意图

图3-2-3 Z形搅拌桨

图3-2-4 搅拌桨型式
(二)高速搅拌机
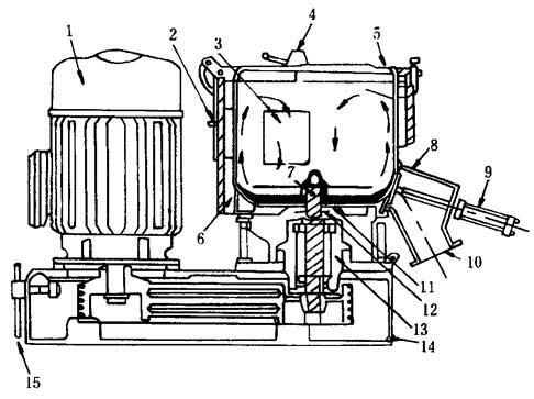
主体部分是一个密闭的圆筒式容器,如图3-2-5所示,容器底部有两片高速旋转的搅拌桨,其转速因规格型号不同而不同,一般分高速和低速两档,高速为750~1100r/min,低速为400~750r/min。物料由下叶搅拌桨使之沿容器壁急剧散开,而向上叶搅拌桨中心部位下落,形成旋涡状运动,以达到迅速混和均匀,刮料板(也称折流板)是为便于物料作均匀分散而设的,可作角度和上下调节,在高速搅拌下,物料因内摩擦和搅拌桨、容器壁摩擦所产生的热量,以及夹套中蒸汽传入的热量,致使增塑剂能很快地渗入聚氯乙烯树脂,形成半凝胶化的干混料。物料完成混和后通过卸料管排出。这种搅拌装置具有效率高,混和均匀,热量耗用低,密闭性好等优点,故目前在聚氯乙烯加工中普遍应用。

图3-2-5 高速搅拌机示意图
1-电动机 2-热电偶 3-刮料板 4-测料温热电偶 5-捏和盖子 6-蒸汽夹子 7-主轴 8-活塞操作的闸门 9-气缸 10-卸料斜管 11-轴封 12-密封圈 13-轴承管 14-机架 15-V型皮带调节装置
(三)管道式搅拌机
主体是由两段Φ125×1400mm的混合管串联组成,管内配置一根多翼转轴,转轴由变速电动机带动,以1000r/min左右的高速旋转。翼片角度分正反两个方向。混和管外配置蒸汽夹套加热。混和时,物料在管内受到加热和剧烈的剪切,从而能迅速地被搅拌均匀并连续地被制为干混料。管道式搅拌机见图3-2-6。

图3-2-6 管道式搅拌机示意图
1-蒸汽 2-大混和料 3-PVC树脂 4-接电动机 5-冷凝水出口 6-捏和料 7-冷凝水出口 8-接整流子电动机
(四)搅拌机的特征
常用的高速搅拌机和Z形搅拌机的优缺点见表3-2-1。
表3-2-1 高速搅拌机和Z形搅拌机的对比
