网站首页  词典首页

请输入您要查询的字词:

 

字词 铸造生产机械化
类别 中英文字词句释义及详细解析
释义

铸造生产机械化


铸造生产实现机械化、自动化对于提高劳动生产率、提高产品质量、降低劳动强度、改善劳动环境有着重要的意义,是目前铸造生产亟待解决的课题.铸造生产是由不同工序联系在一起的工艺过程.从材料准备到铸件毛坯要经过砂处理、造型、浇注、落砂和清理一个完整的工艺生产过程,每个环节都非常重要,都是获得合格铸件的保证.下面介绍一个机械化程度较高的生产厂必须要具备的生产线.

砂处理是提供合格造型用砂的关键工序.它包括新旧砂处理;辅助料准备、定量、混制及输送系统.图3-21和图3-22是铸工车间砂处理系统的配备及布置示意图.

图3-21 砂处理系统工艺流程框图

造型是由若干台造型机组成的生产流水线来协调完成的.生产线由主机、辅机、输送系统和控制系统组成一条完全的机械化造型生产线可以大大提高生产率,并极好地解决造型生产中的困难,不但减轻劳动强度,还改善劳动条件,工人们可以通过控制系统、计算机来完成合格铸件的生产任务.图3-22是一条由六台Z148B组成的机械化造型生产线示意图.图3-23是由两台射压造型机组成的自动化造型生产线示意图.图3-24是一条树脂砂生产线示意图.从介绍的几条生产线来看,机械化生产虽然有诸多好处,但由于主机多、辅机多、占地面积大、投资大,而限定了只有大批量生产的厂家才是合适的.目前国内外针对这一问题,技术人员都在努力解决一机多用、简化辅机的高效高速自动化生产.如无箱挤压造型生产线是用一台主机完成上、下箱造型,配以下芯机构、浇注机械、落砂清理滚筒及装配有高速高效混砂机的砂处理系统.这种生产线占地面积小、设备少、机械化程度高.投资相对少的生产线是今后的发展方向.

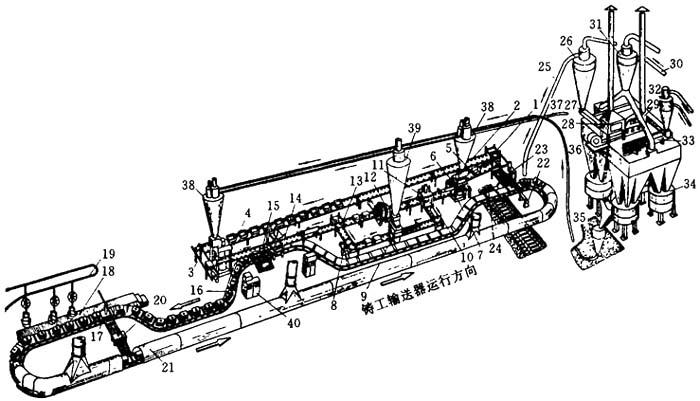
图3-22 机械化砂处理、造型生产线

1—浇注单轨;2—浇包;3—浇注台;4、5、10—旧砂皮带运输机;6—电磁皮带轮;7、11—新砂皮带运输机;8—旧砂斗式提升机;9—滚筒筛;12、13—砂斗;14—定量器;15—混砂机;16—新砂斗式提升机;17、18、21、23、28—型砂皮带运输机;19—调匀斗;20—圆盘给料机;22—松砂机;24—落砂机;25—造型机;26—铸工输送器;27—型砂斗;29—通风冷却罩

图3-23 射压造型自动生产线

1—分箱机;2—上砂箱滚道;3—上砂箱转向机;4—上箱射压造型机;5—下砂箱滚道;6—下砂箱转向机;7—下箱射压造型机;8—空芯盒翻转机;9—射芯机;10—芯盒转向机;11—下芯机;12—下芯翻转机;13—开芯盒机;14—合箱机;15—落箱机;16—铸工输送器;17、20—压铁装置;18—浇注平台;19—浇注环轨;21—冷却通风罩;22—推杆;23—捅箱、落砂机;24—鳞板输送器;25—旧砂吸送管道;26、31、32—旋风卸料器;27—磁选皮带机;28—增湿器;29—沸腾冷却器;30—新砂吸送管道;33—螺旋给料器;34—混砂机;35—压送发送器;36、37—压送管道;38—型砂卸料器;39—芯砂卸料器;40—电磁气阀箱

图3-24 树脂砂生产线示意图

1—TYL型落砂机;2—带式输送机;3—S975永磁皮带轮;4—TYP型破碎机;5—斗式提升机;6—No.1砂库;7—TYZ型气力再生机;8—TYF型旋风分离器;9—No.2砂库;10—TYW型砂温调节器;11—振动输送机;12—斗式提升机;13—带式输送机;14—No.3砂库;15—带式输送机;16—TYH-0.5混砂机;17—No.4砂库;18—带式输送机;19—TYH-10混砂机;20—TYD型电气控制柜;21—水冷系统;22—除尘器

浇注目前是由许多先进的浇注设备来完成的,大多配备在生产线上自动控制.

落砂清理冷却一体化是目前在流水线上使用较多的一种设备,特别是配置在射压线上更能发挥作用.

随便看

 

文网收录3541549条中英文词条,其功能与新华字典、现代汉语词典、牛津高阶英汉词典等各类中英文词典类似,基本涵盖了全部常用中英文字词句的读音、释义及用法,是语言学习和写作的有利工具。

 

Copyright © 2004-2024 Ctoth.com All Rights Reserved
京ICP备2021023879号 更新时间:2026/1/15 22:07:20