网站首页  词典首页

请输入您要查询的字词:

 

字词 限速器与安全钳
类别 中英文字词句释义及详细解析
释义

限速器与安全钳


电梯作为交通工具的一种,安全问题是人们最关心的,因为乘客的生命就系在几根钢丝绳上,安全系统才是乘客安全的最大保证。

电梯安全系统分机械和电气两部分。

就其机械安全装置而言,主要有:限速器、安全钳、缓冲器、安全窗、盘车装置等。其中,限速器、安全钳装置是十分重要的机械安全保护装置。它的作用在于因机械或电气的某种原因,例如钢丝绳断裂或失控使电梯超速下降时,当下降速度达到一定限值时,将轿厢停止在导轨上的装置。限速器和安全钳单独都不能完成上述任务,要想实现安全功能,必须要靠它们的配合动作来完成。

限速器、安全钳、轿厢三者之间的结构关系如图1.3-1所示。

图1.3-1 限速器、安全钳、轿厢三者间关系

限速器绳是一根两端闭合的钢丝绳,上面套绕在限速器轮上,下面绕过挂有重物的涨紧轮,在限速器绳的某处与轿厢安全钳的连杆系统固定。而连杆系统则安装在轿厢上梁中,如图1.3-2所示。

图1.3-2 限速器拉杆联动装置示意图

这样,使限速器轮的转速与轿厢的运行速度发生了联系,即限速器轮的转速反映了电梯的下降速度。在电梯以额定速度下降时,尽管限速器绳对连杆系统有一个向上的提拉力,但因提拉力比较小,并被图1.3-2中的预压缩复位弹簧力所平衡,所以连杆并不发生转动。当下降速度达到限速器动作的规定速度时,限速器由于离心力的作用卡住而停止转动,此时限速器的夹绳装置将夹住限速器钢丝绳。与此同时,轿厢还在继续下降,这时被夹住的限速器绳就以较大的提拉力使其连杆系统发生转动,并通过安全钳拉条提起安全钳楔块,根据自锁原理,楔块会将轿厢卡在导轨上,达到保护轿厢、乘客的目的。

所有的限速器本身都包括三个机械部分:

(1)反映电梯运行速度的转动部分;

(2)当电梯运行速度达到限速器动作速度时,根据离心力原理将限速器绳夹紧的机械自锁装置;

(3)限速器下端的涨紧装置。

由于限速器是电梯在下降时起保护作用的,所以具有方向性,在安装时必须注意方向。现在有双向限速器,但也是有方向性的,并不是随意安装的,这点必须注意。

典型的限速器如图1.3-3所示。

图1.3-3 典型的限速器结构示意

限速器一般分锤形和球形两种,工作原理分别如下:

锤形限速器的工作原理如图1.3-4所示,当轿厢超速下降时,限速器轮在限速器绳与其绳槽间的摩擦力的作用下,转速加快,因而离心锤所受到的离心力相应地也随之增大,并使离心锤绕着销轴转动,重心外移。当离心力大到一定程度时,离心锤上的凸起将和锤罩上的凸起啮合,使锤罩带动偏心叉一起向着轿厢下降方向转动。当转动到偏心叉中的压绳舌与限速器绳接触时,根据自锁原理,压绳舌将限速器制停,进而带动安全钳动作时将轿厢夹持在导轨上。

图1.3-4 锤形限速器工作原理

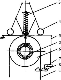
球形限速器的工作原理如图1.3-5所示,限速器绳带动限速器旋转,并将其运动传给一对锥齿轮,使其立轴带动一对飞球转动。随着限速器转速的提高,飞球所产生的离心力不断增加。飞球在克服调节弹簧及结构自重沿立轴向下分力的基础上,不断抬高位置。当速度达到限制值时,飞球也会抬到一定高度,同时提拉杠杆也会被拉起,这样如图所示钩子也被拉起,使偏心块或夹块脱离并工作,夹住限速器绳,从而带动安全钳工作。

图1.3-5 典型的球形限速器示意

1-限速器钢丝绳 2-锥齿轮对 3-调节弹簧 4-飞球 5-杠杆 6-限速器轮 7-钩子 8-偏心块或夹块

由于限速器是不允许现场维修和调整的,其工作参数都必须是在工厂完成的,所以这里就不多对其进行介绍。现场操作时,不要对其进行调整,尤其有油封的调节点、螺栓,绝对不允许动。

安全钳要求轿厢在下降过程中达到限速器动作速度时,甚至在悬挂钢丝绳全部断裂情况下,都必须保证使满载轿厢停止在导轨上,并能保持静止状态。

比较典型的安全钳结构有滚轮式、楔块式两种,分别如图1.3-6、图1.3-7所示。当限速器钢丝绳被夹绳装置制动后,安全钳两楔块将被安全钳拉条向上提起。在提起楔块的过程中,楔块与导轨面间的距离越来越小,最终楔块与导轨面相接触。根据自锁原理,楔块与导轨之间的摩擦力使超速下降的轿厢夹持在导轨上。

图1.3-6 滚轮式安全钳结构示意

图1.3-7 楔块式安全钳结构示意

随便看

 

文网收录3541549条中英文词条,其功能与新华字典、现代汉语词典、牛津高阶英汉词典等各类中英文词典类似,基本涵盖了全部常用中英文字词句的读音、释义及用法,是语言学习和写作的有利工具。

 

Copyright © 2004-2024 Ctoth.com All Rights Reserved
京ICP备2021023879号 更新时间:2026/4/16 22:22:40