常用的饧发设备分为中间饧发设备和最后饧发设备两种。国外大批量生产面包的厂家,为配合机械化连续式生产的需要,不仅中间饧发采用了机械式,而且最后饧发也采用了多层回转自动饧发机,国内有一部分中间饧发采用了机械式饧发机外,大部分都还在使用饧发房和饧发箱来进行中间、最后饧发工艺的操作。
1.中间饧发机
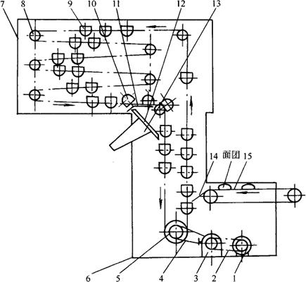
常用的中间饧发机(图3-2-6)主要由面团进料机构、出料机构、网斗、传动机构和箱体等组成。

图3-2-6 中间饧发机工作示意图
1-电动机 2-V带 3-减速器 4-链条 5-传动链轮 6-传动链条 7-箱体 8-张紧链轮 9-网斗 10-翻斗时网斗 11-翻斗机构 12-料槽板 13-出料斗 14-落料板 15-送入传送带
工作时,面团经送入传送带15,落料板被送入网斗9,网斗经链条带动在箱体内匀速运行,经过翻斗,面团从出料斗13送出进行成形操作。
中间饧发机的箱体一般采用金属支架,外壁用聚乙烯泡沫板保温。网斗一般用不锈钢丝冲压成碗形,表面喷涂聚四氟乙烯,可以防止面团粘连。一般采用6个网斗一排,用框架固定。
2.饧发室
饧发室一般采用砖墙结构。也有采用金属框架的拼装结构,用聚乙烯泡沫板保温。饧发室设有门,供放置饧发面块的饧发车进、出使用。饧发室顶应做成弧形,以利水珠能顺着屋顶及墙壁流到地面,避免水珠直接落到面团上,影响正常饧发。饧发室四周需设排水槽,让冷凝水及时排出防止室内积水。
供热、供湿一般采用锅炉供汽,也可采用室内电加热水箱加热、加湿的方式。
饧发室的结构简单,投资少,比较实用可靠,还可兼作发酵室使用。但劳动强度大,工艺操作条件差。