网站首页  词典首页

请输入您要查询的字词:

 

字词 人造奶油制作
类别 中英文字词句释义及详细解析
释义

人造奶油制作margarine making

将油相物(油脂及油溶性添加物)和水相物(水及水溶性添加物)按一定比例进行调配、混合、乳化、冷却结晶和塑化等工序,制成具有可塑性的或液态乳化状的油脂食品的过程。
100多年前,人造奶油产生于欧洲。当时,由于缺乏奶油,人们迫切需要寻找其代用品。1869年,法国首先出现了以牛脂为原料,并添加牛奶进行乳化、冷却的人造奶油。后来,这种制作技术逐渐传到欧洲其他国家,以至美国和日本。随之,人造奶油的品种增多,质量和产量也超过了奶油。另外,它已不仅仅是餐桌上的奶油代用品,而且还广泛用于食品工业,作为油脂原料生产面包、糕点、饼干、奶酪等食品。制作人造奶油的原料油脂,也已从牛脂、猪油、鱼油、鲸油等动物油脂,逐渐发展到主要为植物油脂,即色拉油和氢化植物油。氢化植物油是将色拉油置于高温和高真空的反应釜中,添加适量的金属催化剂(如镍催化剂),与氢气进行反应,而得到的硬化油脂。
人造奶油以80%左右的油相混合物和20%左右的水相混合物所组成。油相混合物主要包括三种不同的油脂,即两种熔点不同的氢化油和一种液体色拉油。此外,还含有各种油溶性添加物,例如乳化剂(甘油-酸、卵磷脂)、防腐剂、抗氧化剂、香精、色素、维生素等。水相混合物包括水、乳品(脱脂乳和发酵乳)、食盐以及水溶性防腐剂和抗氧化剂等。

图1 人造奶油各原料的调合及乳化过程

1.发酵乳罐; 2.乳罐; 3.水罐;4.水相调合罐; 5.油脂调合罐;6.油相调合罐; 7.乳化罐; 8.柱塞泵


人造奶油的制作过程包括原料的准备(调合与乳化)、冷却、塑化以及成品的包装和贮存等几个阶段。原料的准备过程如图1。水相物料在水相调合罐中混合,使各成分溶解于水。原料油脂先在油脂调合罐中混合,然后进入油相调合罐,与各种油溶性添加物混合均匀。准备好的油相混合物被送入乳化罐,并随之加入水相混合物,在50~60℃的温度下迅速搅拌,使水相物均匀地分布在油相物中,以形成乳化液。最后,乳化液由柱塞泵送往急冷机,进行冷却和塑化处理。
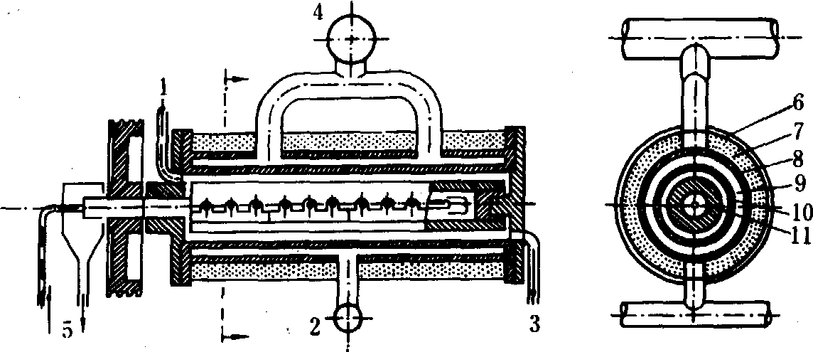
急冷机(或称A单元),由2~3个冷却圆筒组成(图2)。乳化液在急冷机中的冷却和塑化过程如图3。通过冷却介质(液态氨或氟利昂)的急速冷却作用,乳化液在冷却圆筒的壁上析出网状结构的细小结晶体,随后被转筒上的刮刀刮下。此时乳化液的温度虽已降到油脂的熔点以下(10℃左右),但由于受到强烈的搅拌,还不会很快结晶成固体,而是形成所谓过冷液。随后,过冷液由急冷机(A单元)进入减稠机。减稠机亦称B单元,是一种搅拌捏和装置,由圆筒、固定翅、搅拌翅和搅拌轴组成(图4)。在固定翅和搅拌翅的剧烈振动下,过冷液的网状结构被打碎,于是产生重新结晶,从而使其可塑性得到提高。由此制得的人造奶油要立即进行充填包装,并送往低于其熔点10℃左右的冷库贮存2~5日,以使结晶体逐渐稳定,达到熟成状态。这种人造奶油一般适用于食品工业。而直接餐用的人造奶油,则不宜经过强烈的搅拌,即从急冷机出来的过冷液无需经过减稠机,就直接进入静止管(图3)。静止管为一细长的圆筒,圆筒内装有1~5块金属孔板或筛网,圆筒外装有夹套,用于调节温度。过冷液在静止管内继续结晶,并通过金属孔板受到适度的捏和作用,以降低其稠度。因而,改变静止管的长度和金属孔板的数目,就可获得不同稠度的人造奶油。在静止管之后,还需要经过充填、成型和包装,最后送往冷库贮存。

图2 急冷机(A单元)结构示意

1.乳化液入口;2.冷却介质入口; 3.乳化液出口;4.冷却介质出口;5.防冻热水;6.外壳;7.隔热层;8.冷却夹套;9.冷却介质通道;10.冷却圆筒;11.刮刀

图3 人造奶油的冷却与塑化过程

1.柱塞泵; 2.急冷机(A单元);3.减稠捏和机(B单元);4.静止管

图4 减稠捏和机(B单元)结构示意


除以上制得的通用可塑性人造奶油以外,还发展了液体乳化状、高亚油酸型、低热量型等多种人造奶油。液体乳化状人造奶油是以液体色拉油为基础,加入少量硬化脂肪(加氢化的菜子油和棉子油)而制成的,它含水分较多,易于流动。高亚油酸型人造奶油是以高亚油酸油脂(如棉子油和向日葵油)为主要原料制成的,其亚油酸含量高达50%~63%,具有降低血清胆固醇、医治心血管疾病的良好作用。低热量型人造奶油含脂肪酸为40%左右,而水分含量达50%以上,是一种防止因脂肪摄取量过多而产生疾病的特殊油脂食品。
随便看

 

文网收录3541549条中英文词条,其功能与新华字典、现代汉语词典、牛津高阶英汉词典等各类中英文词典类似,基本涵盖了全部常用中英文字词句的读音、释义及用法,是语言学习和写作的有利工具。

 

Copyright © 2004-2024 Ctoth.com All Rights Reserved
京ICP备2021023879号 更新时间:2025/11/30 21:59:24