地膜覆盖机plastic mulching machine铺放塑料薄膜的机械。可用于蔬菜、花生、烟草、棉花、瓜果、玉米等作物的地面覆盖栽培。地膜覆盖机除铺膜单项作业机外,还有在铺膜的同时进行整地、作畦(垄)、打孔、播种、施肥、喷药等项作业的联合作业机。机器铺膜优于人工铺膜,它的作业质量好,畦形整齐丰满,地膜与畦面贴得紧、压得实; 效率高,大、中型拖拉机配套的铺膜机可提高工效50~60倍,手扶或小四轮拖拉机牵引的铺膜机可提高工效15~25倍,人力铺膜机可提高工效3~5倍; 作业成本低,节省薄膜。 一些工业发达的国家于20世纪50年代开始研究塑料薄膜地面覆盖栽培技术,60年代用于生产。当时用人工铺膜。60年代中期,日本等国家生产专门用于地面覆盖的塑料薄膜,促进了地膜覆盖栽培技术及机械的发展。随后,日本及欧美一些国家研制了地膜覆盖机。最初的地膜覆盖机是模仿手工铺膜的工艺流程,70年代后期,日本、法国、英国和苏联等国家先后研制成功了与耕作机、播种机、栽植机联合作业的铺膜机。1978年中国开始研制地膜覆盖机。先后制成3DF-1.4、3DQ-1.4、2BF-1、1GF-2 和 2BMS-6 等多种型号的地膜覆盖机。1984年中国地膜覆盖机保有量为1.28万台,机械铺膜面积达到196.5万亩。 地膜覆盖机按薄膜在地面的封固方式分为压膜式或嵌膜式两种。按完成的作业项目分为简易铺膜机、作畦铺膜机、旋耕铺膜机、铺膜-播种联合作业机等。地膜覆盖机主要由机架、起土器、畦形整形器、薄膜铺放和压膜覆土等部件组成。机架用于与拖拉机联接并固定其他工作部件。起土器翻土起垄,使畦初步成形。一般采用圆盘式或犁铧式起土器。畦形整形器多用钢板焊接后装配组成,有屋顶形、拱形和马鞍形几种,强制挤压土壤形成所需要的畦形或垄形。畦形整形器多采用变角度的导土角。导土角的变化,可使铺膜机在不同的土壤条件下工作时利于土壤流动,不至于在整形器前大量堆土,当土壤进入整形器后,流动性能减小,利于压实,保证畦面有足够的压实度。整形器的高、宽可以调整,宽度调节范围一般为540~1 100毫米,高度调节范围是70~200毫米。薄膜铺放架用于装卡膜卷,铺放薄膜,使膜均匀地沿畦面铺放并有一定的张紧度。压膜覆土装置与机架绞接,靠弹簧的拉力和自重使压膜部件横向拉紧薄膜,并与畦面贴实。压膜轮有塑料泡沫的和橡胶的。覆土部件有圆盘覆土器和犁铧覆土器。地膜覆盖机工作时起土器入土,把土堆集成埂,经过整形器后压实成形。薄膜铺放装置把膜均匀地铺放于畦面,两侧的压膜轮把薄膜横向拉紧,再由覆土部件起土封压薄膜。简易铺膜机由人力或畜力牵引,适于在已作好的高畦或垄上铺膜、封膜。结构简单,机件小而轻,适于在小块地或温室、塑料大棚内作业(图1),为嵌膜式

图 1 简易铺膜机结构简图 结构,采用水平放置嵌膜轮,将地膜嵌入畦侧土中。沟底清,便于后期沟灌和追肥。铺膜直线性容易控制,地膜与畦面贴得紧。畜力牵引的铺膜机是在人力牵引铺膜机结构的基础上增加了畦形整形装置,适宜在坡地、梯田和小块地作业。作畦铺膜机可与手扶拖拉机或中、小型轮式拖拉机配套,分悬挂或牵引两种形式。主要由起土器、畦形整形部件和压膜覆土部件组成。有的还配有喷药装置,喷洒除草剂。作畦铺膜机在铺膜装置后附加压膜辊,有风也可作业。每小时可以铺膜2.5~16亩(图2)。旋耕铺膜机是旋耕机与作畦铺膜机联合作

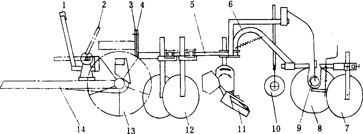
图 2 作畦铺膜机简图 1. 脚踏板; 2. 升降手把; 3. 牵引车接盘; 4. 连接盘; 5. 机架; 6. 压膜覆土 总成; 7.覆土圆盘; 8. 压膜轮;9. 限位滚总成;10. 薄膜铺放架总成; 11. 整 形器; 12. 起土圆盘; 13. 地轮; 14. CQY通用牵引车 业,一次完成旋耕、整形、铺膜和封膜作业。铺膜一播种联合作业机用于播种蔬菜、棉花和玉米等。有两种机型: 一种是先播种后铺膜,即在播种机上挂接铺膜装置,组成联合作业机组; 另一种是先铺膜后播种,由铺膜机和专用的打孔、点播装置组合使用,在已耕地上一次完成平土铺膜、打孔点播、起土覆盖种穴等作业(图3)。主要由机架、施肥、平地镇压、整形铺膜、点播和孔穴覆盖等机构组成。工作时,通过地轮传动将肥料箱内的种肥经螺旋推运器推至排肥口,并由排肥轮把肥料送入输肥管,开沟器把肥料排在种行的一侧。平土框把表面干土层及土块推离,同时填土平沟。平土框的凸起部分在地上开出两条压膜小沟,压膜轮把铺在地面上的薄膜两侧边压入沟内,覆土圆盘起土封压膜边,点播器在铺好膜的畦面上滚动,完成取种、充种工序,使种子落到打孔器压嘴端部。点播器的滚动使鸭嘴打孔入土。当鸭嘴转到下止点时,凸轮打开活动鸭嘴,种子落入穴中,随后覆土圆盘翻起碎土送入覆土器,碎土由螺旋叶片横向推进,呈条状覆盖在种穴上。排种轮间距可调范围为440~800毫米,播种机分2行、4行和6行,分别与60、80、100马力的拖拉机配套。日本的铺膜栽植机为茄果类蔬菜移栽提供了新机型,适合在已作好的畦上铺膜栽植。其特点是:在铺膜机上增加栽植机构,一名操作人员将营养钵送进喂入机构,通过旋转的栽植机栽入土里。

图3 铺膜点播机结构示意图 1. 肥箱;2. 悬挂梁;3.地轮;4.机架;5.输肥管;6.靴式开沟器;7.平土框及 镇压辊; 8.膜辊;9.展膜轮;10. 压膜轮; 11. 前覆土圆盘; 12.打孔器鸭嘴; 13. 点播器; 14. 后覆土圆盘;15. 覆土器; 16. 刮土板; 17. 种子箱
随着铺膜机的推广,蔬菜覆盖栽培的面积迅速增加,薄膜对土壤的污染也日益加剧。即使采用光降解膜,被埋入土壤之后也要到下次耕作暴露时才会降解。为此,英国、苏联、日本等国研制了收膜机。收膜机安装在拖拉机的前部或后部,上方有卷膜器,中间位置有揭膜器将薄膜卷起。 |