网站首页  词典首页

请输入您要查询的字词:

 

字词 挤奶器
类别 中英文字词句释义及详细解析
释义

挤奶器milker

靠真空压力吸取牛奶的器具。是奶牛挤奶设备的基本工作部分。
挤奶器由挤奶杯、脉动器、集乳器等部分组成。挤奶时,将挤奶杯套在牛的乳头上,利用脉冲器产生脉动真空,吸出奶汁,并在集乳器内汇集后流入输奶管路。根据挤奶杯的挤奶动作有两节拍和三节拍两种。两节拍挤奶器的挤奶动作由吸吮和压挤两个节拍交替进行(图1),具有较高的生产率,在各国得到广泛应用。三节拍挤奶器的挤奶动作由吸吮、压挤和休息三个节拍组成,可缓和真空对乳头的刺激,但挤奶速度慢,挤奶杯易脱落,奶不易挤尽,应用较少。

图1 二节拍挤奶器工作简图


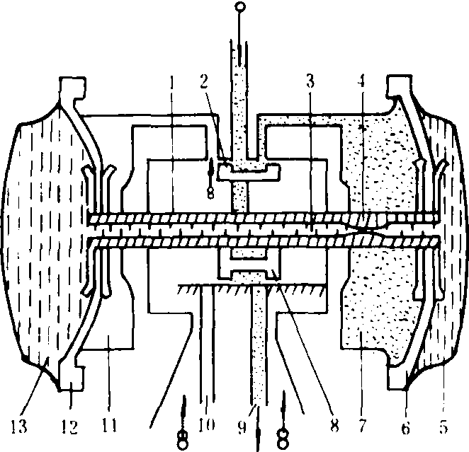
挤奶杯 产生类似于小牛吸奶的动作,使乳头不断受到真空吸吮和挤压,将奶吸出。它由不锈钢制的金属圆筒和橡皮内套组成。内套内部的空间称为乳头室,输入固定的真空压力;内套与金属圆筒之间的环形空间称为脉动室,通入由脉动器供应的脉动真空。内套富有弹性,其两端能将金属圆筒密封,口部大小适宜,使套上乳头时空气不会泄入乳头室。
脉动器 将输入的固定真空转变为真空与大气交替变化的脉动真空,供应挤奶杯的脉动室,以产生不同的工作节拍。脉动器有液气式、气压式、电磁式等三种。液气式脉动器(图2),由器体、上下阀门机构、橡皮膜片和连接两膜片的空心连杆组成。两膜片在器体的左、右形成4个相互隔开的小室:中间两个小室为气室,交替通入真空或大气,由上阀门机构控制;左右端部两个小室,充满液体,通过空心连杆中的节流孔相互沟通。下阀门为脉动真空输出阀,随空心连杆一起运动,并带动上阀门。当连杆处于右侧极端位置时,下阀门使真空通向右输出管道,左输出管道则与大气相通。同时上阀门使右侧气室通入真空,左气室进入大气。膜片在压力差作用下,与空心连杆一起向左侧移动,使左侧端部的小室体积变小,液体通过空心连杆的节流孔流向右侧端部小室,直至上、下阀门移动到左侧位置;此时右输出管道与大气相通,左输出管道输出真空,左右气室也同时发生相反的变化。在反向压力差作用下,膜片带动空心连杆开始向右运动,依次不断重复,使输出管道不断输出脉动真空。膜片往复转换的频率取决于空心连杆中节流孔的大小,它控制液体从一侧小室流向另一侧的速度,节流孔小,膜片移动速度慢,脉动频率低。反之则频率高。液气式脉动器,其液体在密闭系统内流动,不受外界条件影响,工作稳定可靠,但结构复杂。气压式脉动器利用橡皮膜片两边压力差的变化来带动阀门的转换,结构简单,但脉动频率易受环境温度和尘垢堵塞工作沟道的影响。电磁式脉动器是利用电磁线圈电路的通断所产生电磁力的变化,带动阀门转换,工作稳定、可靠,但需由脉动控制器来控制电路的接通和断开,常用在大型管道式挤奶机上。脉动控制器是一电子定时器,能产生具有各种频率的电路通断信号,以控制各挤奶器上的电磁式脉动器。

图2 液气式脉动器工作简图

1.空心连杆;2.上阀门;3.中心孔道;4.节流孔道;5、13.液体室;6、12.橡皮膜;7、11.气室;8.下阀门;9.右脉动真空输出管(供应两个挤奶杯的脉动室);10.左脉动真空输出管(供应另两个挤奶杯的脉动室)


集乳器 由集乳室和脉动分配室组成。脉动分配室将脉动器输出的脉动真空,送到各挤奶杯的脉动室,集乳室将真空泵输出的固定真空送到挤奶杯的乳头室,并汇集挤下的牛奶,输往奶桶或输奶管路。
乳头室内为固定真空。当脉动器向集乳器输出真空时,挤奶杯的脉动室也呈真空状态[图1(a)],橡皮内套内外无压力差,内套张开,乳头在真空作用下,括约肌开放,牛奶被吸出,此过程称吸吮节拍;当脉动器输出大气压力时,挤奶杯的脉动室呈大气压力[图1(b)],橡皮内套在内外压力差作用下向里压挤乳头,使括约肌关闭,奶停止流出,此过程称压挤节拍。依此不断重复,形成二节拍的工作循环。为使汇集在集乳器集乳室内的牛奶能顺利流出,集乳室上方设有直径为0.8毫米的气孔。
挤奶器的真空度高低及其稳定性、脉动频率(每分钟的脉动循环次数)和节拍比(吸吮节拍与压挤节拍所占时间之比)对挤奶作业有重大影响。真空度高能使乳头括约肌开放,加快挤奶速度,但容易引起乳头肿胀,使剩余奶量增加;真空度低会影响乳头括约肌开放,降低挤奶速度;合适的真空度应在挤奶杯内保持44~50千帕。稳定的真空度能提高挤奶效率和防止发生乳房炎。真空室稳定性应以挤奶时挤奶杯不从乳房脱落为度。集乳器堵塞,输奶管路坡度不合适,橡皮内套破损,转移挤奶器,真空贮备不足等都会引起真空度的波动。提高脉动频率和加大节拍比对提高挤奶速度有利,但易引起乳头括约肌的疲劳、肿胀和充血,奶不易挤尽。合适的脉动频率为每分45~70次,节拍比1.5~3.0∶1。根据国际标准推荐:在一脉动周期内,挤奶杯脉动室内正常的工作真空所占时间不应少于30%,大气压力时间不少于15%。

挤奶器

用于吸取牛奶的器具。1903年英国首先研制出真空挤奶器。挤奶器由挤奶杯,脉动器和集乳器3部分组成。按挤奶节拍可分为3节拍和2节拍2种类型。适宜的脉动频率为45~70次/min,节拍比为(1.5~3.0)∶1,挤奶杯内应保持44~50 kPa的真空度。1998年中国拥有机动挤奶器1511套。

随便看

 

文网收录3541549条中英文词条,其功能与新华字典、现代汉语词典、牛津高阶英汉词典等各类中英文词典类似,基本涵盖了全部常用中英文字词句的读音、释义及用法,是语言学习和写作的有利工具。

 

Copyright © 2004-2024 Ctoth.com All Rights Reserved
京ICP备2021023879号 更新时间:2026/4/30 23:57:09