网站首页  词典首页

请输入您要查询的字词:

 

字词 油料蒸炒设备
类别 中英文字词句释义及详细解析
释义

油料蒸炒设备cooking equipment for oil-bearing materials

将油料轧坯机制成的生坯润湿并加热蒸炒,使之变为熟坯的机械设备。加热蒸炒的作用在于,借助水分和温度的作用进一步破坏油料细胞组织或改变油料内部的结构,更有利于提取细胞组织内的油脂和提高出油率。同时,在蒸炒过程中产生的化学变化还有利于提高油脂的质量。其主要设备有立式和卧式蒸炒锅、转筒式炒锅、平底炒锅和蒸坯甑等。
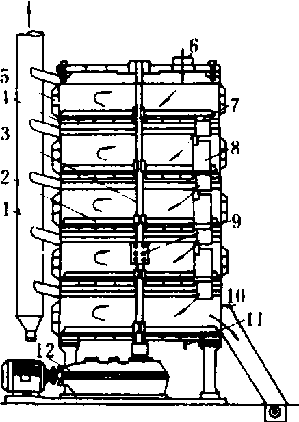
立式蒸炒锅 由数个蒸炒锅单体上下叠置而成的层式蒸炒设备。可作为辅助蒸炒锅单独使用,也可直接装在榨油机上使用。辅助蒸炒锅通常有4~5层,榨油机上蒸炒锅一般有2~3层。
立式蒸炒锅主要由蒸炒锅单体、润湿装置、搅拌器、落料控制机构、排气管、进气管和传动装置等组成(图)。蒸炒锅单体是由钢板焊接而成的圆柱形容器,并带有底夹层和边夹层,借助进气管通人蒸汽对坯料进行间接加热。润湿装置是在第一、二层单体内沿底面圆周布置的盘管,蒸汽或水从底部管接头进入盘管,由盘管孔喷入料层,蒸汽也可从搅拌轴中心通入,由搅拌叶背面小孔喷入料层。搅拌器由搅拌轴和直叶片或弯叶片组成,它使蒸炒锅内的坯料按一定方向翻动,使坯料均匀受热和润湿。落料控制机构为弧形落料门,通过支撑板与拖板相连,拖板伸向下层,其高低位置可根据需要调节,并根据下层装料的多少联动地打开或关闭落料门。排气管用于排出蒸炒锅内的水蒸汽。搅拌轴的转速较低,其变速箱传动装置可安装在蒸炒锅的下部,也可安装在上部。

立式蒸炒锅结构示意图

1.排气管; 2.搅拌叶; 3.搅拌轴;4.底夹层; 5.边夹层; 6.进料口;7.落料孔; 8.自动落料门; 9.联轴器;10.出料口; 11.进气管; 12.变速箱


坯料从上部进入蒸炒锅,在第一、二层由润湿装置加入水分使之湿润,并通过间接蒸汽在100℃左右的温度下进行蒸坯。然后坯料落入下层,逐渐过渡到炒坯,以使坯料达到入榨前所需要的温度和水分。
立式蒸炒锅的内径为1000~2100毫米。搅拌器的转速为30~40转/分,配用动力5.5~22千瓦。总加热面积为10~25米2,生产能力为10~50吨/日。
卧式蒸炒锅 由卧式长方形的双层圆筒和搅拌器组成的蒸炒设备。一般直接装在螺旋榨油机上使用。上层圆筒装有蒸汽夹套, 主要起蒸炒作用; 下层圆筒直径较小, 可通入蒸汽进行温度和水分调节, 搅拌器装在圆筒内, 由搅拌轴和螺旋形桨叶组成。坯料从上层圆筒的一端进入, 在搅拌器的作用下向前推进, 至另一端落入下层圆筒, 然后进入榨油机。这种蒸炒锅结构简单, 但存料少, 蒸炒时间短, 坯料翻动剧烈,加热不均匀。
转筒式炒锅 由卧式圆筒构成的炒籽设备。其结构和工作原理类似于转筒式烘干机(见谷物干燥设备)。滚筒由间接蒸汽或热空气加热。油料从滚筒的一端进入,在随滚筒翻滚的同时被加热蒸炒,最后从另一端排出。
平底炒锅 一种圆形容器式的平底炒坯设备。中间装有搅拌轴和叶片,侧面装有出料口。坯料从上部进人炒锅,由锅底下面的火直接加热,炒完后打开出料口排料。这种炒锅适于烘炒米糠、茶籽和棉籽等油料。炒锅直径一般为1 300毫米左右,深约550毫米。主轴转速为50~70转/分,配备动力1千瓦。炒坯能力达300~600千克/小时。
蒸坯甑 由普通铁锅和木制甑桶组成。适用于农村榨坊。桶底部有孔,装入坯料后放置铁锅内。铁锅盛水,锅底用火直接加热,以产生蒸汽,进行蒸坯。

油料蒸炒设备equipment for oil steaming

将轧坯后的生料坯加水湿润、加热蒸坯、干燥炒坯,使之成为熟坯油料的设备。使用最广的是圆柱立式蒸炒锅。主要由多层叠置的圆柱形锅体、蒸气夹层、喷水管、喷气管、搅拌器、落料口与自动料门、动力和传动装置等组成。生料自顶部喂料口进入锅内,由夹层蒸气加热蒸炒,依次进入各层连续蒸炒,最后由下锅体出料口排出。落料孔的开闭是靠自动料门控制,当锅内存料量少时,料门敞开下料;当存料量达到规定限度时,料门自动关闭。

随便看

 

文网收录3541549条中英文词条,其功能与新华字典、现代汉语词典、牛津高阶英汉词典等各类中英文词典类似,基本涵盖了全部常用中英文字词句的读音、释义及用法,是语言学习和写作的有利工具。

 

Copyright © 2004-2024 Ctoth.com All Rights Reserved
京ICP备2021023879号 更新时间:2026/1/18 10:38:24