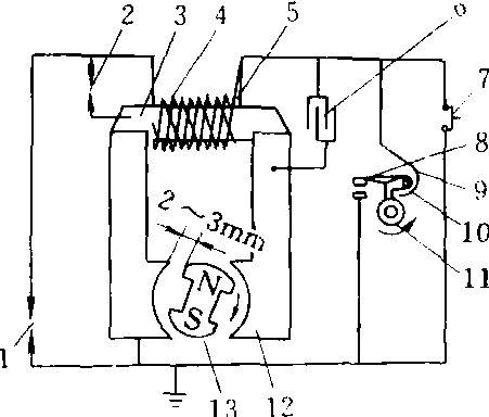
磁电机magneto产生高压电流供汽油机火花塞点火的装置。永磁转子位于蹄形铁芯之间,磁力线由转子经蹄形铁芯组成闭合回路。感应线圈的初级和次级线圈均绕于铁芯上,与断电器一起构成升压变压器。转子旋转,铁芯中磁通变化,初级线圈中产生低压电流,当其达到最大值时,触点分开,切断低压电路,使次级线圈感应产生高压电流。在触点旁并联 一熄火开关,按下开关,初级电路常通,磁电机不再产生高电压,内燃机熄火。磁电机中还装有起动加速器,汽油机起动时,使转子瞬时加速,保证次级线圈产生足够高的跳火电压。 
磁电机 1. 火花塞 2. 安全火花间隙 3.铁芯 4.次级线圈 5. 初级线圈 6.电容器 7. 熄火按钮 8. 触点 9.弹簧片 10.触点臂 11. 凸轮 12.蹄铁 13.转子 |