网站首页  词典首页

请输入您要查询的字词:

 

字词 空气的分离
类别 中英文字词句释义及详细解析
释义
空气的分离

空气的分离kongqi de fenli

现代工业广泛采用深度冷冻方法分离空气。该法分两个步骤,首先把空气液化,然后利用空气中各组分具有不同的挥发度,即在同一温度下各组分的蒸气压不同的特性,用精馏的方法将其分离。
空气液化的制冷装置见图1。空气经压缩机吸入



图1 带膨胀机的致冷循环
1.压缩机 2.水冷热器 3.第一换热器
4.第二换热器 5.膨胀机6.节流阀 7.气液分离器

并压缩到一定压力后,入冷却器初步降温,再入第一换热器被返流气体冷却 。然后,气流分成 两路,一部分去膨胀机绝热做功,用以推动压缩机。另一部分经第二换热器后在节流阀中减压臌胀,膨胀使温度急剧下降,致使部分空气液化,并经气液分离器将液体分离出来,低温气体返回第二、第一换热器冷却由压缩机来的气体,最后返回压缩机循环使用。


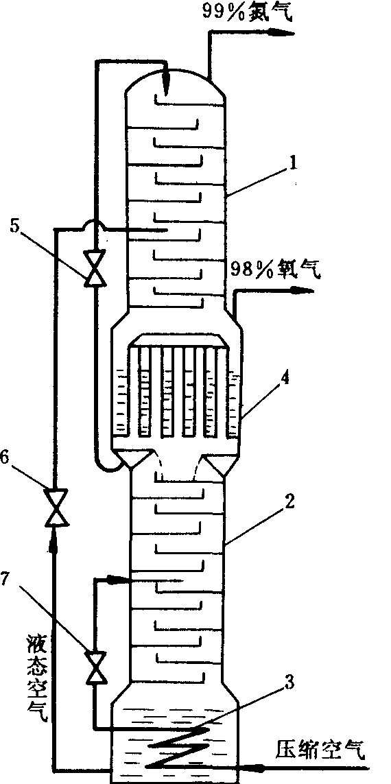
图2 双塔式精馏塔
1 上塔 2 下塔 3 热交换器4 冷凝蒸发器 5,6,7 减压阀


图2为分离空气的双塔式精馏塔。它由上塔和下塔两个塔组成,中间是一个冷凝蒸发器,冷凝蒸发器既是下塔的冷凝器,又是上塔的 蒸发器。操作时,预冷的压缩空气由下塔的塔底进入,通过热交换器降低温度,再经节流阀进入下塔的中部。其中蒸发出来的气体由塔板上升,液体回流下降。气体上升到冷凝蒸发器处所形成的冷凝液一部分作为回流液下降,另一部分导入上塔塔顶作为上塔的回流液。下塔塔底的液态空气导入上塔中部作为上塔进料。由于氮气的沸点比氧气低,因此,随着塔内气-液两相之间质量传递和热量传递的进行,上升气体中氮气的含量越来越高,下降液体中氧气的含量越来越高。最后,由塔顶可得到含量为99%的氮气,由冷凝蒸发器的列管间可导出含量为98%的氧气。空气中的其他组分,因其沸点不同各自在不同的部位浓集,只要在相应的部位抽取馏分,而后加以浓缩和精制,就可得到各种稀有气体。例如,可从上塔中部抽取一部分气体用以提氩;从冷凝蒸发器顶部可收集氦和氖; 氪和氙是空气中沸点最高的组分,最后集中在液氧和气氧中,需进一步从氧气中提取。
☚ 硬水软化   火法冶炼 ☛
00006465
随便看

 

文网收录3541549条中英文词条,其功能与新华字典、现代汉语词典、牛津高阶英汉词典等各类中英文词典类似,基本涵盖了全部常用中英文字词句的读音、释义及用法,是语言学习和写作的有利工具。

 

Copyright © 2004-2024 Ctoth.com All Rights Reserved
京ICP备2021023879号 更新时间:2025/10/17 13:15:20