网站首页  词典首页

请输入您要查询的字词:

 

字词 蔬菜播种机
类别 中英文字词句释义及详细解析
释义

蔬菜播种机vegetable seeder

按各种方式播种蔬菜种子的机械。蔬菜种类多,且种子粒度小、重量轻、形状复杂,有些种子表面粗糙带有绒毛,有的种子为了克服高温或低温休眠需采用催芽播种,对胡萝卜、莴苣等形状不规则的种子需进行包衣处理。因此,对播种机的排种器有特殊的要求,同时要求浅播,深浅一致。
蔬菜播种先是引用谷物条播机,然后在此基础上研制、发展和推广了专用的蔬菜播种机。苏联在20世纪50年代初开始使用专门的蔬菜播种机,中国也在50年代末至70年代研制成功了多种与中、小功率和手扶拖拉机配套的蔬菜播种机。至80年代发达国家蔬菜播种机开始向精密和联合作业的方向发展,采用蔬菜种子丸粒化和各种监视装置及自动控制技术以提高播种精度。
类型 按动力和挂结形式可分为拖拉机悬挂式或牵引式,人力、畜力式;按播种方式可分为条播机、穴播机、撒播机、起垄播种机和精密播种机等。其中起垄播种机和精密播种机应用较普遍。
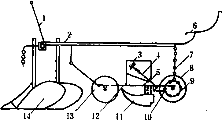
蔬菜起垄播种机 一种悬挂式蔬菜条播机。适用于大白菜、萝卜、芥菜、圆白菜的起垄播种,能一次完成起垄、播前镇压、开沟、播种、覆土和播后镇压等作业。其结构如图1,主要由机架、播种单组、起垄器等组成。作业时,起垄犁铧在已整好地上筑起垄台,前镇压轮将种床压平,滑刀式开沟器开出种沟,拉簧式排种器由后镇压轮上的拨指推动拨杆并拉伸排种弹簧而工作,挡种片定时将活门打开,种子自动流入种沟内,靠开沟器通过后的土壤自行回落覆土,后镇压轮进行播后镇压,完成起垄播种作业。

图1 蔬菜起垄播种机

1.上悬挂杆;2.机架; 3.种子箱;4.排种弹簧; 5.挡片;6.座位; 7.吊链; 8.后镇压轮; 9.拨指; 10.拨杆;11.开沟器;12.播种单组;13.前镇压轮;14.起垄犁


蔬菜精密播种机 图2为该机的播种单组,可以精播圆白菜、胡萝卜、油菜、番茄,也可用于精播玉米、甜菜等作物。作业时,位于机架前方的刮土板将种床上的干土层推向两侧,前镇压轮进行播前镇压,铲式开沟器开出V形浅沟,型孔带式排种器按调整好的要求播下种子,种沟镇压轮使种子更好的与土壤接触,覆土器覆上细土后再进行播后镇压完成全过程。

图2 蔬菜精密播种机单组

1.土块清除器支架; 2.机架; 3.播种单组牵引杆;4.种子箱; 5.单组前、后支架;6.后镇压轮; 7.刮土板; 8.覆土器; 9.种沟镇压轮;10.排种器; 11.开沟器; 12.单组前支架; 13.前镇压轮; 14.土块清除器


主要工作部件 是排种器和开沟器。根据蔬菜种子形状不规则,品种繁多的特点,它们需按所播蔬菜品种而配备。条播用排种器按种子尺寸形状而改变结构参数,成为不同结构的专用条播排种器;穴播则采用不同窝眼尺寸的垂直窝眼轮式排种器等;精播排种器需按种子性状配置型孔尺寸。开沟器无论是采用滑刀式、锄铲式和圆盘式,均需根据蔬菜浅播、窄行密播或宽幅播的要求,改变结构。滑刀式开沟器要有限深板和V型断面实心底托;锄铲式开沟器可制成有散种器的宽幅铲式开沟器和能同时开出多条种沟的窄行密播用船型铲式开沟器等;圆盘开沟器应装置限深环等,成为专用型工作部件。

蔬菜播种机vegetable sowing machine

用排种器将蔬菜种子均匀地播入播种沟中并随即覆土的机械。主要用于大白菜、萝卜、胡萝卜、芥菜、菠菜等露地菜的播种,欧、美一些国家也用于莴苣、番茄、芹菜、洋葱及甘蓝类蔬菜的田间直播。根据排种器的不同排种方式,蔬菜播种机可分为条播机、穴播机和精密播种机。条播机播后的种子成条状分布,使用槽轮式、离心式、蝶轮式、刷轮式及选孔自流式排种器; 穴播机播后以几粒种子为一组和大体相等的间距布于播行内,采用垂直窝眼轮、倾斜窝眼轮、匙式、型孔带式排种器; 精密播种机播后的种子成单粒等间距分布(见蔬菜精密播种机)。根据蔬菜垄作、畦作的方式不同,播种机可分为垄上播种机和畦田播种机。垄上播种机适用于大白菜、萝卜等的播种,机型多为单组式结构。畦田播种机适用于行株距较小的叶菜播种,多为整体机型。根据播种机的配套动力不同,可分为人力式蔬菜播种机和机引式或悬挂式蔬菜播种机。人力的多为单行机,而机引的或悬挂的为多行机。
蔬菜专用播种机的研究比谷物播种机晚得多。中国远在四千年前就制成了简单的瓠种器用于谷物播种。公元前1世纪汉武帝时,搜粟都尉赵过发明了播种耧。直至16世纪,欧洲才开始设计播种机。1731年英格兰出现第一台播种机。1850年在播种机上开始使用槽轮式排种器。1940年苏联进行播种机标准化工作,更换个别部件就能够改装成专用的蔬菜播种机。1946年美国在垂直窝眼轮式播种机精密播种丸粒化蔬菜种子取得成功。1953年英国出现型孔带式蔬菜播种机。60年代,气力式蔬菜精密播种机开始广泛地研究和运用。70年代,蔬菜种子带及液体播种机进入实用阶段,同时试验蔬菜饼片精密播种技术。中国对蔬菜播种机的研究始于50年代初期。先后研究出人力单行垄上蔬菜播种机和人、畜力通用双行垄上蔬菜播种机,1964年研究成功拖拉机悬挂的蔬菜起垄播种机。70年代后,东北、华北等地又相继研制出蔬菜刨埯机、绿叶菜通用播种机、蔬菜畦田播种机。
人力式蔬菜播种机 由机架、导向轮、镇压轮、种子箱、排种器、开沟器、覆土器、传动机构及手推杆等组成(图1)。导向轮为排种器提供动力,直径较大,轮缘有抓地爪; 镇压轮直径较小,表面光滑,有的还包有橡皮,靠橡皮弹性防止粘土。这两个轮还起地形仿形和限深作用。开沟器一般采用锐角靴式,较易入土。排种器有窝眼轮式、型孔带式、抽板式、选孔自流式及匙式等。这种机型适于宽行距蔬菜。日本的手提式点播器(图2)靠下压手柄使压孔锥入土,压出小孔,当接地板着地后,通过连杆机构使压孔锥向上升起,带动排种轮转动,排出的种子,通过滑槽落入锥孔内,完成播种过程。用于点播蔬菜。


图 1 人力式蔬菜播种机



图 2 人力手提式点播器


蔬菜起垄播种机 以CXL-4型蔬菜起垄播种机为例(它与中型拖拉机配套),主要由机架、起垄器及播种单组三部分组成(图3)。可一次完成起垄、开沟、播种、覆土、镇压等作业,最大作业宽度为260厘米,分为四个播种单组,一次可播四行。鸭嘴形起垄器起垄高12~25厘米。播种单组由排种器、前后镇压辊、开沟器及种子箱组成,与播种机架采取浮动吊挂式联接,具有地形仿形性能。排种器为拉簧式,排种拨杆的一端被镇压辊的拨指弹动时,另一端即带动排种拉簧抽动排种孔的阀门,将种子排出。种子播后成条状分布。有的起垄播种机采用整体式传动,传动地轮的工作位置要比播种单组低一个垄高,使之走在比较坚实的沟底,以减少滑移,提高播种准确度。单组式播种机大多带有施化肥、施杀菌剂或除草剂的装置。


图 3 CXL-4型蔬菜起垄播种机


蔬菜畦田播种机 用于菜畦畦面小行距播种的机具,如2BS-17型小菜通用播种机。播种白菜、小萝卜、菠菜等,可一次完成打埂、平畦、开沟、播种、覆土、镇压等作业。与中型拖拉机悬挂配套,整体式结构,可播17行。平畦打埂器的刮板高度可调,以控制刮土量,保证畦面平整。排种器主要由大、小窝眼轮、棘齿轮及排种杯等组成,大、小窝眼轮用于播种小萝卜等小粒种子,棘齿轮用于播种菠菜等播量较大的种子。2BS-6型畦田联合作业机(图4)适用于蔬菜畦田播种,该机与旋耕机组配套,一次能完成旋耕、平畦、打埂、开沟、播种、覆土和镇压等项作业,以减少机组进地次数。调整旋耕刀的排列,可改变旋耕刀两端的集土量,使畦埂的土量适当。


图4 2BS-6型畦田联合作业机


1.旋耕机;2.悬挂架; 3.机架;4.种子箱;5.镇
压轮;6. 覆土器;7. 地轮;8. 排种装置;9.开
沟器;10. 挡土板


液体播种机 由种箱、蠕动泵及开沟器等组成,用于播种催芽处理后的胡萝卜、芹菜等20多种小粒蔬菜种子。液体播种机还需配备发芽箱、储存罐、发芽种子分离器、液体输送罐等设备。该机有人力单行机、拖拉机悬挂的多行机(5行、6行或7行)等。工作时,待播的发芽种子均匀地悬浮在胶液中,排种用的蠕动泵将混有种子的胶液从种箱排入种沟,并覆土。通过增减胶液与种子的混合比例改变播种量。蠕动泵有两种:一种是连续式的,用于条播;一种是间歇式的,用于穴播。由于种子能预先在适宜的条件下发芽,可排除气候和田间条件的影响,液体播种比播干种可提早出苗,并增加产量。如芹菜用传统播法21天出苗,而液体播种仅需7天。液体播种莴苣、洋葱比常规播种早出苗5~15天,莴苣可增产30%。液体播种番茄的产量与移栽的大体相同,比播干种子的增产35~119%。

蔬菜播种机

用于播种蔬菜种子的机具。20世纪初美国首先研制出蔬菜播种机。1931年苏联研制出甘蓝收获机。20世纪50年代初,苏联已开始使用专门的蔬菜播种机。中国于20世纪50年代初研制并使用。按动力分机力、人力和畜力3种。主要工作部件有排种器和开沟器。按播种方式可分为起基播种机、精密播种机、条播机、穴播机、撒播机5类。

蔬菜播种机

vegetable-seed(/vegetable)planter;vegetable sowing machine

随便看

 

文网收录3541549条中英文词条,其功能与新华字典、现代汉语词典、牛津高阶英汉词典等各类中英文词典类似,基本涵盖了全部常用中英文字词句的读音、释义及用法,是语言学习和写作的有利工具。

 

Copyright © 2004-2024 Ctoth.com All Rights Reserved
京ICP备2021023879号 更新时间:2025/10/17 10:10:21