| 释义 |
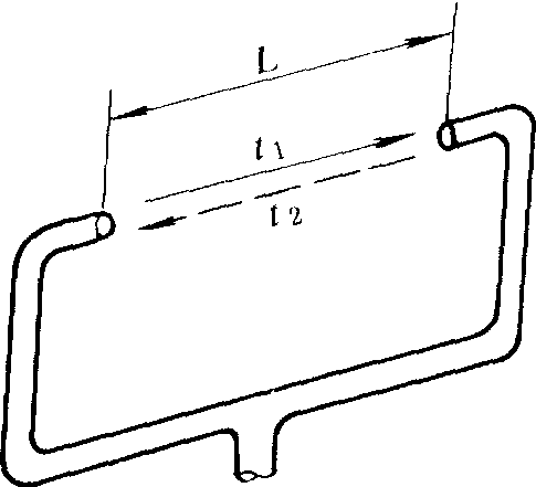
超声风速表chaosheng fengsubiaoultrasonic anemometer利用风对超声波传播速度的影响以测定风速的仪器它适于对乱流等要素进行精密测定。其原理如示意图。图中L是两个相对的超声波发射口(同时也是接收口)的距离, t1、t2是交替由两个口从发射到接收信号所需的时间。如果声波的传播速度为c, 则顺风时t>风时t2=L/(c-v),故风速v=L/2(t2-t1/t1t2)。如果同时用两组这种结构, 在水平面互相垂直安置, 即可测定各水平方向的风速值; 用三组按X、Y、Z坐标系安置, 则可测定任意方向的风速值。1=L/(c+v), 逆 
超声风速表原理示意图 |