鼠道犁mole draining plow又称塑孔犁或暗沟犁。一种在地下开排水暗沟的农具。由锥形犁头,塑孔器及刀形犁柱等组成。可由拖拉机或动力绞盘牵引作业。暗沟直径约为90~100mm,深度可达0.8 m。暗沟排水的特点是土地利用率高,维修管理工作量小,便于农业机械的田间作业,并能有效地降低地下水位。 
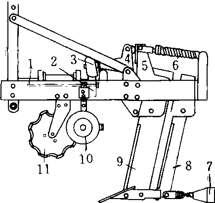
振动暗沟犁示意图 1.输入轴 2. 振动凸轮 3. 从动滚轮 4. 振动架 5. 振动刀刃安装附件 6.压缩弹簧 7. 塑孔器 8. 固定刀刃 9. 振动刀刃 10. 限深轮 11. 圆盘锯齿刀刃 |