(一)用途与特点
硅藻土过滤机是采用硅藻土作为过滤剂的压力式过滤机械,适用于各类果汁的过滤。
(二)结构与工作原理
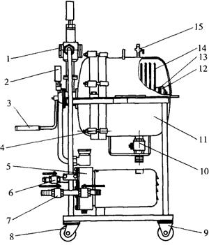
硅藻土过滤机按结构可分为卧式与立式两种。卧式容积相对较大,立式容积相对较小。一般由筒身、中空轴、滤板、滤网、压力表、放气阀等组成,如图4-2-15所示。

图4-2-15 硅藻土过滤机
1-观察装置 2-压力表 3-摇把 4-卡子 5-自吸泵 6-入口阀门 7-出口阀门 8-活动脚轮 9-固定脚轮 10-排滞留物阀门 11-外壳 12-贝帽 13-密封圈 14-滤盘 15-排气阀
工作时,首先将滤液与硅藻土在助滤剂添加机组进行混合搅拌,使这种混合溶液在容器内不断循环,混合均匀,然后由筒身进液口进入,充满在壳体中。此时硅藻土就预涂在滤布上,并形成过滤层。在压力的作用下,滤液通过滤布、滤网、滤板和空心轴,由出液口排出,完成过滤过程。使用硅藻土过滤机的关键是助滤剂的预涂,在预涂时,助滤剂要在滤液中搅拌均匀,并控制液体流动的速度,使形成的助滤层均匀稳定,滤液达到澄清度的要求。
(三)主要技术参数
硅藻土过滤机主要技术参数见表4-2-4。
表4-2-4 硅藻土过滤机主要技术参数

注:灯塔县轻工机械厂制造。