网站首页  词典首页

请输入您要查询的字词:

 

字词 机头
类别 中英文字词句释义及详细解析
释义

机头


吹塑薄膜机头(简称“吹膜机头”)的分类方法很多。按塑料经过机头的流动方向可分为:侧进料(即芯棒式)、水平式和直角式机头三类;按机头的结构可分为普通机头、螺旋机头、旋转机头等;按薄膜中塑料品种的数目可分为:单层吹塑薄膜机头、双层吹塑薄膜机头和多层(三层以上)吹塑薄膜机头。

(一)机头的结构及其特点

吹塑薄膜所用的机头有许多种,现在常用的有:螺旋机头、旋转机头和复合机头,前两种都是中心进料机头;复合机头类型中,有些料从侧面进入,复合塑料薄膜机头将在第13章阐述。单一种料的侧进料机头现在已经不广泛使用,故在此不予介绍。

1.中心供料吹膜机头

中心供料式机头只适用于平挤平吹的情况。水平式中心供料机头的结构如图7-5。

图7-5 平吹中心供料吹塑薄膜机头的结构

1-过滤板 2-分流装置 3-机头体 4-铰链板 5-气嘴 6-加热装置 7-温度计孔 8-锁母 9-调节螺钉 10-口模 11-机头体 12-芯模 13-内六角螺钉

这种机头的结构类似于直通式挤管机头。由于芯模周围所受的料流压力较均匀,故芯模不易产生“偏中”现象,吹塑薄膜的厚度均匀。但机头内间隙较大,塑料在机头中的停留时间较长,所以,该机头不适宜加工热敏性塑料;由于芯模支架的存在,使熔料在机头内产生较多的熔接缝,在一定程度上影响吹塑薄膜的质量。

2.直角式中心供料螺旋机头

螺旋式机头按螺纹头数,可分为:单螺旋芯棒中心进料与双螺旋芯棒中心进料吹塑薄膜机头,后者较常用。

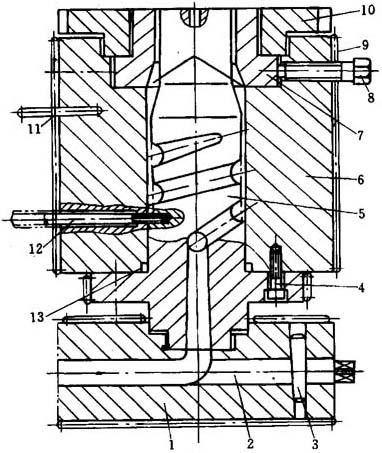
直角式中心供料(单螺旋式)吹塑薄膜机头的结构见图7-6。在典型螺旋芯模中熔料流动状态见图7-7。

图7-6 单螺旋芯棒中心进料吹塑薄膜机头的结构

1-机颈 2-嵌件 3-定位销 4-螺钉 5-螺旋芯棒 6-机头体 7-口模 8-调节螺钉 9-加热装置 10-锁母 11-温度计 12-气嘴 13-密封环

图7-7 典型螺旋芯模中熔料流动状态

1一模头体 2-螺旋芯模

这种机头的特点与水平中心供料吹塑薄膜机头类似,但料流阻力比前者要大,适宜加工PE、PP等热稳定性的塑料。

如图7-6和图7-7所示,熔料从底部中心进入,分两股流向边缘。这两股料流分别注入双头螺纹的螺槽中,并沿螺槽旋转上升,在定型段之前两股料流汇合。在料流旋转上升的过程中,熔料沿螺纹的间隙漫流,逐渐形成一层薄薄的膜。

这种机头的主要优点是:

①料流在机头内没有拚缝线;

②由于机头压力较大,薄膜的物理力学性能好;

③薄膜的厚度较均匀;

④机头的安装和操作方便;

⑤机头坚固、耐用。

然而,由于料在机头中的停留时间较长,所以,也不能加工热敏性塑料。

由图7-7可知,当熔融塑料从进入孔流入时,熔料在芯模周围旋转;还可以明显看出;当塑料流过模头较深时,螺旋段和壁之间的定型段深度增加。被控制的泡管型坯厚度在芯模周围时均匀分布的。这样,才能保证吹塑薄膜厚度的均匀性。

3.旋转机头

旋转机头是近阶段才广泛应用的一类机头。为了使薄膜的厚度公差均匀地分布在薄膜四周,在成型的过程中,让机头的口模旋转或使芯棒旋转或使口模与芯棒以相反的方向同时旋转,这种机头可以实现薄膜的平整卷取。对宽幅薄膜的生产十分有利。

在实际生产中,有些机头也曾使用过,如莲花瓣机头等,现在用得较少,故不介绍。

(二)吹膜机头工艺参数设计

1.吹胀比

吹塑薄膜的吹胀比(a)是指经吹胀后管泡的直径(Dp)与机头口模直径(Dk)之比。这是吹塑薄膜一个重要的工艺参数,它将薄膜的规格和机头的大小联系起来。吹胀比(a)通常为1.5~3.0,对于超薄薄膜,最大可达5~6。在生产过程中,压缩空气必须保持稳定,以保证有恒定的吹胀比。薄膜厚度的不均匀性随吹胀比的增大而增大;吹胀比太大,易造成管泡不稳定,薄膜易出现折皱现象。

2.牵引比

吹塑薄膜的牵引比(b)是指牵引速度(VD)与挤出速度(VQ)之比。牵引速度(VD)是指牵引辊的表面线速度;而挤出速度(VQ)则是指熔体离开口模的线速度,这两种速度可用下式计算:

VD=Q/(2Wδγ) (7-1)

式中 VD——牵引速度,cm/min;

Q——挤出机的生产率cm3/min;

W——薄膜的折径,W=a·π·Dk/2,cm;

δ——薄膜的厚度,cm;

γ——熔融塑料的密度,g/cm3

VQ=Q/(π·Dk·h·γ) (7-2)

式中 VQ——挤出速度,.cm/min;

Q——挤出机的生产率,cm3/min;

Dk——机头口模直径,cm;

h——口模缝隙宽度,cm;

γ——熔融塑料的密度g/cm3

由牵引比(b)的概念可知:

b=(π·Dk·h)/(2W·δ) (7-3)

3.口模缝隙宽度

由a、b、δ还可以推算出口模缝隙宽度:

h=a·b·δ (7-4)

口模缝隙宽度一般为0.4~1.2mm之间。口模缝隙宽度过小,则料流阻力大,影响挤出产量;若口模缝隙宽度过大,如果要得到较小厚度薄膜时,就必须加大吹胀比和牵引比,然而,吹胀比和牵引比过大时,,在生产中薄膜不稳定,容易起皱和折断,厚度也较难控制。因此,吹塑薄膜机头的口模缝隙宽度一般为0.8~1.0mm;特殊情况下大于1.0mm,例如用LLDPE吹塑薄膜时的口模缝隙宽度就大于1.2mm。

4.口模、芯模定型部分的长度

为了消除熔接缝,使物料压力稳定,物料能均匀地挤出,口模、芯模定型部分的长度通常为口模缝隙宽度的15倍以上。料流通道也不能过短,在通常的情况下,物料从分流的汇合点到模口的垂直距离应不小于分流处芯棒直径的2倍。根据塑料流动理论,定型段的长度可用下式计算:

式中 △p——熔体压力,N/cm2

K′——塑料熔体粘度系数,见表7-3A、B;

n——塑料熔体的非牛顿指数,见表7-4A、B;

R0——口模内半径,cm;

Ri——芯模外半径,cm;

Q——体积流量,cm3/s。

5.调节螺钉

为了适应加工、安装等方面的误差,防止芯模出现“偏中”现象,无论何种形式的机头,口模四周都要设置调节螺钉,其数目不少于6个。

表7-3A 几种塑料的粘度系数K′值 单位:N·s/cm2

表7-3B 几种塑料的粘度系数K′值 单位:N·s/cm

注:N·s/cm2=104Pa·s,故表中的数值×104即得到IS制的粘度单位。

表7-4A 几种塑料的非牛顿指数

表7-4B 几种塑料的非牛顿指数

随便看

 

文网收录3541549条中英文词条,其功能与新华字典、现代汉语词典、牛津高阶英汉词典等各类中英文词典类似,基本涵盖了全部常用中英文字词句的读音、释义及用法,是语言学习和写作的有利工具。

 

Copyright © 2004-2024 Ctoth.com All Rights Reserved
京ICP备2021023879号 更新时间:2025/10/19 13:59:14